 |
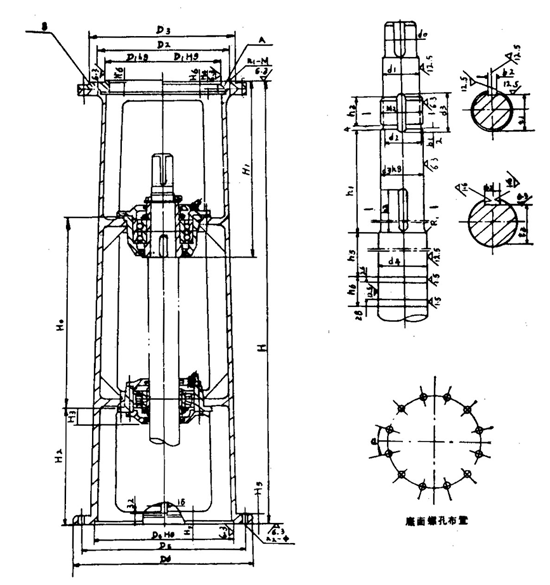
SJ型雙支點機架主要參數及尺寸 |
 |
| |
詳細介紹: |
發布時間:2006/4/27 14:41:24 |
|
| |
SJ型雙支點機架主要參數及尺寸

|
機架
代號 |
標準
圖號 |
H |
H0 |
H1 |
H2 |
H3 |
H4 |
H5 |
H6 |
H7 |
輸入軸接口 |
輸出端接口 |
上軸承
型號 |
下軸承
型號 |
機架總量
(kg) |
|
D1 |
D2 |
D3 |
n1-M |
D4 |
D5 |
D6 |
a |
n2-ф |
|
SJ55A B |
CD130B8·1 |
1070 |
450 |
402 |
300 |
46 |
20 |
24 |
A6
B5 |
6 |
270 |
A310
A305 |
340 |
A6—M10
B8—M16 |
325 |
400 |
435 |
30 |
12—Φ14 |
46210 |
13513 |
151 |
|
SJ65A |
CD130B8·2 |
1140 |
450 |
487 |
300 |
51 |
20 |
24 |
6 |
6 |
316 |
360 |
400 |
8—M12 |
350 |
420 |
460 |
30 |
12—Φ18 |
46219 |
13516 |
200 |
|
SJ70A B |
CD130B8·3 |
1140 |
450 |
487 |
300 |
51 |
20 |
24 |
A6
B5 |
6 |
A316(320)
B315 |
360 |
400 |
A8—M12
B8—M16 |
350 |
420 |
460 |
30 |
12—Φ18 |
46219 |
13516 |
200 |
|
SJ80A B |
CD130B8·4 |
1230 |
450 |
545 |
350 |
56 |
25 |
28 |
A6
B5 |
8 |
A345
B360 |
A390
B410 |
A480
B460 |
A8—M16
B8—M20 |
380 |
455 |
495 |
30 |
12—Φ18 |
46222 |
13518 |
270 |
|
SJ90A |
CD130B8·5 |
1400 |
600 |
569 |
350 |
56 |
25 |
28 |
7 |
8 |
400 |
450 |
490 |
12—M16 |
430 |
510 |
555 |
30 |
12—Φ23 |
46224 |
13522 |
376 |
|
SJ100A B |
CD130B8·6 |
1510 |
600 |
685 |
350 |
61 |
25 |
28 |
A9
B5 |
10 |
A455(460)
B470 |
520 |
580 |
12—M20 |
480 |
560 |
600 |
22.5 |
16—Φ23 |
46228 |
13525 |
465 |
|
SJ110A |
CD130B8·7 |
1510 |
600 |
685 |
350 |
61 |
25 |
28 |
11 |
10 |
520 |
590 |
650 |
12—M20 |
560 |
650 |
700 |
22.5 |
16—Φ27 |
46228 |
13525 |
521 |
|
SJ130A |
CD130B8·8 |
1610 |
650 |
761 |
350 |
61 |
28 |
36 |
11 |
10 |
680 |
800 |
880 |
12—M30 |
720 |
810 |
880 |
18 |
20—Φ27 |
46234 |
13530 |
85 |
軸聯接尺寸
|
機架
代號 |
h1 |
h2 |
h3 |
h4 |
h5 |
h6 |
d0 |
d1 |
d2 |
M2 |
d3 |
d4 |
R1 |
b1 |
t1 |
b2 |
t2 |
|
SJ55A B |
118 |
15 |
50 |
28 |
300 |
120 |
55 |
57 |
57 |
60×2 |
60 |
65 |
1 |
8 |
56 |
180 -0.043 |
530 -0.2 |
|
SJ65A |
143 |
18 |
56 |
32 |
275 |
135 |
65 |
71 |
72 |
75×2 |
75 |
80 |
1 |
10 |
69 |
200 -0.052 |
67.50 -0.2 |
|
SJ70A B |
143 |
18 |
56 |
32 |
275 |
135 |
70 |
71 |
72 |
75×2 |
75 |
80 |
1 |
10 |
69 |
200 -0.052 |
67.50 -0.2 |
|
Sj80A B |
163 |
18 |
70 |
32 |
250 |
147 |
80 |
81 |
82 |
85×2 |
85 |
90 |
1.5 |
10 |
79 |
220 -0.052 |
760 -0.2 |
|
SJ90A |
168 |
20 |
80 |
36 |
380 |
162 |
90 |
91 |
92 |
95×2 |
95 |
110 |
1.5 |
12 |
89 |
250 -0.052 |
880 -0.2 |
|
SJ100A B |
178 |
24 |
90 |
42 |
360 |
182 |
100 |
110 |
112 |
115×2 |
115 |
125 |
2 |
14 |
100 |
320 -0.062 |
1040 -0.2 |
|
SJ110A |
178 |
24 |
90 |
42 |
380 |
182 |
110 |
111 |
112 |
115×2 |
115 |
125 |
2 |
14 |
109 |
320 -0.062 |
1040 -0.2 |
|
SJ130A |
208 |
28 |
110 |
46 |
370 |
200 |
130 |
135 |
137 |
140×2 |
140 |
150 |
2 |
14 |
132 |
360 -0.062 |
1280 -0.3 |
|
|
|