漸開線圓柱齒輪精度檢驗規范
1 主題內容與適用范圍
本標準規定了GB10095-88《漸開線圓柱齒輪精度》中規定的切向綜合誤差、一齒切向綜合誤差、徑向綜合誤差、一齒徑向綜合誤差,、齒距累積誤差、K個齒距累積誤差、齒圈徑向跳動、公法線長度變動、齒形誤差、齒距偏差、基節偏差、齒向誤差、接觸線誤差、軸向齒距偏差、螺旋線波度誤差、齒厚偏差、公法線平均長度偏差、齒輪副的切向綜合誤差、齒輪副的一齒切向綜合誤差、齒輪副的接觸斑點等20項誤差和齒輪副的側隙的檢驗規范,并對齒厚偏差的其它代用誤差項目:基本齒廓位移、量柱測量距(M值)偏差和雙嚙中心距偏差規定了檢驗規范。
本標準適用于平行軸傳動的漸開線圓柱齒輪及其齒輪副,其法向模數mn大于或等于1mm;君X廓按GB1356《漸開線圓柱齒輪基本齒廓》的規定。
2引用標準
GB 10095 漸開線圓柱齒輪精度
GB 2821 齒輪幾何要素代號
GB 3374 齒輪基本名詞術語
GB 1356 漸開線圓柱齒輪基本齒廓
JJ G 1001 常用計量名詞術語及定義
JJ G1010 長度計量名詞術語及定義
JB3887 漸開線直齒圓柱測量齒輪
ZB J42006 測量蝸桿
3符號代號
La 齒頂點展開長度(齒頂點曲率半徑),mm
Lf 齒根點展開長度(齒根點曲率半徑),mm
Laf 齒頂點至齒根點展開長度(齒頂點與齒根點曲率半徑之差),mm
φa 齒頂點展開角,(°)
φf 齒根點展開角,(°)
φaf 齒頂點至齒根點展開角,(°)
e 測量時齒輪的安裝偏心量,μm
ΔTo 測量蝸桿嚙合線誤差,μm
ΔUo 測量蝸桿軸向竄動量,μm
Zo 測量蝸桿頭數
α 材料線膨脹系數,10-6/℃
t 溫度,℃
αpt 量柱中心點的端面壓力角,(°)
注:①下角標o表示標準元件(標準齒輪、標準蝸桿、標準樣板、量塊)、測量元件(測量齒輪、測量蝸桿、測頭)和測量儀的參數。
②下角標1表示使用時與被測齒輪配對嚙合的齒輪的參數。
③本規范所列各公式對直齒輪斜齒輪均適用,對于直齒輪式中mn=m1=m;αn=αt=α;
Xn=Xt=X;β=βb=0。
4單面嚙合綜合誤差的檢驗
單面嚙合(簡稱單嚙)綜合誤差的檢驗包括切向綜合誤差 和一齒切向綜合誤差 的檢驗。
4.1測量方法和測量儀器
單嚙綜合誤差的測量方法有嚙合法和坐標法。
嚙合法的測量儀器有齒輪單面嚙合檢查儀和齒輪單面嚙合整體誤差測量儀等。
坐標法的測量儀器有萬能齒輪測量機等。
4.1.1嚙合法測量原理
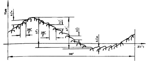
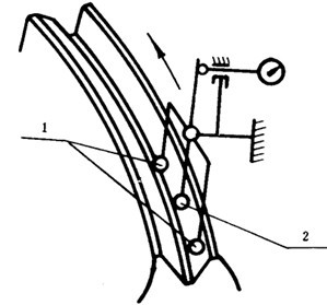
嚙合法測量原理參見圖1。以被測齒輪回轉軸線為基準,使被測齒輪2與測量齒輪1(或測量齒條、測量蝸桿等)作單面嚙合傳動,將此傳動與標準傳動發生裝置3產生的標準傳動相比較,并通過誤差處理系統4連續測量出被測齒輪實際回轉角和理論回轉角的差值,由同步記錄器5將其記錄成功向綜合誤差曲線(圖2),在該曲線上按誤差定義取出

和

.
圖1 嚙合法測量原理圖
1— 測量齒輪;2—被測齒輪;3—標準傳動發生裝置
4—誤差處理系統;5—同步記錄器。

和

也可用嚙合法測整體誤差的方法測得,其測量原理見16.1.1。
4.1.2坐標法測量原理
按16.1.2所述原理,測出截面整體誤差曲線或全齒寬整體誤差曲線,在該曲線上按誤差定義取出

和

。
4.2測量
整體誤差法測量見16.2。
4.2.1測量溫度
見表15。
4.2.2測量儀器的檢定
儀器應按檢定規程或其它有關技術文件的規定進行檢定,經法定部門檢定合格方準使用。
4.2.3測量元件的選擇
嚙合法的測量元件可以是測量齒輪或測量蝸桿。
測量元件的法向模數mn、法向壓力角αn應與被測齒輪一致,其齒形工作部分的齒高應能保證被測齒輪齒形工作部分全被測到。
測量齒輪的精度應符合JB3887的規定;測量蝸桿的精度應符合ZB J42006的規定。
4.2.4測量儀器的校準
測量5級和高于5級精度的齒輪時,測量前必須用經法定部門檢定的標準齒輪對儀器(包括測量無件)進行校準。標準齒輪的檢定誤差不應大于被測齒輪對應誤差項目公差的五分之一。
4.2.5測量基準的確定
見附錄B(補充件)。
4.2.6測量位置的確定
應分別對左、右側齒面整周的每個齒進行測量。被測齒高應大于或等于圖樣規定的工作齒高。
測量元件為測量蝸桿時,對于齒寬小于或等于160mm的直齒輪允許只測齒寬中部截面切向綜合誤差曲線;對于齒寬大于160mm的直齒輪應至少分別測量上、中、下、三個截面的截面切向綜合誤差曲線,上下截面各距端面約百分之十五齒寬;對于斜齒輪應測量至少由五個截面切向綜合誤差曲線組成的全齒寬切向綜合誤差曲線,截面間距應大致相等,上下截面各距端面約百分之十五齒寬。
單側齒面工作的齒輪只測工作側齒面。
4.2.7測量的不確定度
切向綜合誤差的測量不確定度

和一齒切向綜合誤差的測量不確定度

不應大于被測齒輪對應誤差項目公差有三分之一。測量5級和高于5級精度的齒輪時,允許不大于二分之一,但此時應以五次以上重復測量結果的平均值作為測量結果。
當不能確定測量不確定度能否滿足上述要求時,應進行測量不確定度的計算。
4.2.7.1切向綜合誤差測量不確定度

的計算

按下式計算:

……………………(1)
式中:δ1——儀器測量切向綜合誤差時的示值誤差[見附錄A(補充件),也允許按儀器檢定規程確定],μm;
δ2——測量元件制造誤差引起的測量誤差,μm;
測量元件為測量蝸桿時,

………………(2)
測量元件為測量齒輪時,

……………………(3)
式中:

——測量齒輪的切向綜合誤差,μm;
δ3——被測齒輪測量時的安裝偏心引起的測量誤差,μm;

……………………(4)
δ4——測量元件定位誤差引起的測量誤差,μm;
測量元件為測量齒輪時,

……………………(5)
測量元件為測量蝸桿時,

………………(6)
式中:δ41——測量蝸桿安裝偏心引起的測量誤差,μm;

………………(7)

——測量蝸桿端面圓跳動引起的測量誤差,μm;

………………(8)
公式(7)和(8)中當

時,取

。
若式2中的

是在測量前用標準齒輪校準測量蝸桿測得的,即

已包括在

中,則

4.2.7.2一齒切向綜合誤差測量不確定度U

的計算
U

(μm)按下式計算:
U

………………(9)
式中:δ1——儀器測量一齒切向綜合誤差時的示值誤差[見附錄A(補充件),也允許按儀器檢定規程確定],μm;
δ2——測量元件制造誤差引起的測量誤差,μm;
測量元件為測量蝸桿時,

………………(10)
測量元件為測量齒輪時,

……………………(11)
式中:

——測量齒輪的一齒切向綜合誤差,μm。
δ3——溫度誤差引起的測量誤差,μm;

………………(12)
δ4——被測齒輪測量時的安裝偏心引起的測量誤差,μm;
δ
4=

……………………(13)
δ5——測量元件定位誤差引起的測量誤差,μm。
測量元件為測量齒輪時,δ
5=

………………(14)
測量元件為測量蝸桿時,δ5按公式(6)、(7)(8)計算。
4.3測量結果處理

和

應在切向綜合誤差曲線上取值。對直齒輪允許在截面切向綜合誤差曲線上取值。對于斜齒輪允許在曲截面切向綜合誤差曲線組成的全齒寬切向綜合誤差曲線的外輪廓線上取值。
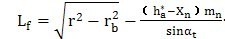
切向綜合誤差曲線(包括截面切向綜合誤差曲線和全齒寬切向綜合誤差的外輪廓線)圖2(a)、圖2(b)的X坐標代表被測齒輪的回轉角,Y坐標代表被測齒輪的回轉角誤差。
切向綜合誤差曲線圖[圖2(a),圖2(b)]沿X坐標360°范圍內,Y坐標的最大變化量為

;沿X坐標

范圍內,Y坐標的最大變化量為

。

和

應在被測齒輪分度圓切線方向計值(μm),沿其他方向測量時應對測得值進行換算,見附錄C(補充件)。
以在4.2.6規定的各測量位置中測得的最大誤差作為測量結果。
圖2

和

取值示意圖
5雙面嚙合綜合誤差的檢驗
雙面嚙合(簡稱雙嚙)綜合誤差的檢驗包括徑向綜合誤差

和一齒徑向綜合誤差

的檢驗。
5.1測量方法和測量儀器
雙嚙綜合誤差的測量方法有直接法和間接法。
直接法的測量儀器有齒輪雙面嚙合檢查儀等。
間接法的測量儀器有齒輪單面嚙合檢查儀等。
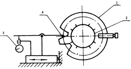
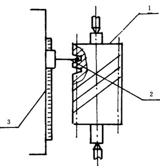
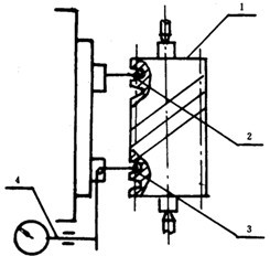
5.1.1直接法測量原理
直接法測量原理參見圖3。以被測齒輪回轉軸線為基準,用徑向拉力簧5,使用被測齒輪1與測量齒輪2作無側隙的雙面嚙合傳動,被測齒輪的雙嚙誤差轉化為雙嚙中心距的連續變動通過測量滑架3和測微裝置4反映出來,將這種變動按被測齒輪回轉一周(360°)排列,記錄成徑向綜合誤差曲線(圖5),在該曲線上按誤差定義取出

和

。
圖3 雙嚙法測量原理圖
1— 被測齒輪;2—測量齒輪;3—測量滑架;4—測微裝置;5—徑向拉力彈簧
5.1.2間接法測量原理
按4.1.1和4.1.2所述的測量原理先測出被測齒輪左右齒面的切向綜合誤差曲線,并使其按嚙合時的相對角坐標位置排列,組成雙向綜合誤差曲線[圖4(a)],兩條切向綜合誤差曲線間的間距變化曲線[圖4(b)]即為徑向綜合誤差曲線,在該曲線上按誤差定義取出

和

(取值方法見5.3.1)。
圖4間接法測量原理圖
5.2測量
間接法測量見4.2。
5.2.1測量儀器的檢定
儀器應按檢定規程或其它有關技術文件的規定進行檢定,經法定部門檢定合格方準使用。
5.2.2測量無件的選擇
測量元件為測量齒輪。測量齒輪的法向模數mn和法向壓力角αn應與被測齒輪一致。
測量齒輪齒厚的確定和齒高的確定,應保證被測齒輪的工作齒高全被測到且齒頂齒根無干涉。
測量齒輪的齒寬應大于被測齒輪的齒寬。
測量齒輪的精度和參數應符合JB 3887的規定。
5.2.3測量基準的確定
見附錄B(補充件)
5.2.4測量位置的確定
徑向綜合誤差應在齒高工作范圍內對所有齒的全齒寬進行測量。
5.2.5測量的不確定度
徑向綜合誤差的測量不確定度

和一齒徑向綜合誤差的測量不確定度

不應大于被測齒輪對應誤差項目公差的三分之一。
當不能確定測量不確定度是否能滿足上述要求時,應進行測量不確定度的計算。
5.2.5.1徑向綜合誤差測量不確定度

的計算:

按下式計算:

……………………(15)
式中:δ1——儀器的示值變動性[見附錄A(補充件),也允許按儀器檢定規程確定],μm;
δ2——被測齒輪中截面與傳感器在被測齒輪軸向位置不一致引起的測量誤差,μm;
δ
2=

……………………(16)
式中:H——被測齒輪中截面與傳感器在被測齒輪軸線方向的距離,mm;

——當測量滑架移動時,在兩齒輪軸線所組成的平面內擺角差,(″)
δ3——傳感器的示值誤差,μm;
δ4——測量齒輪制造誤差引起的測量誤差,μm;
δ
4=

……………………(17)
式中:

——測量齒輪的徑向綜合誤差,μm,
δ5——測量齒輪的安裝偏心引起的測量誤差,μm;
δ5=2eo………………………………(18)
δ6——被測齒輪測量時安裝偏心引起的測量誤差,μm。
δ6=2e……………………(19)
5.2.5.2一齒徑向綜合誤差的測量不確定度

的計算

(μm)按下式計算:

……………………(20)
式中:δ1——儀器的示值變動性[見附錄A(被充件)也允許按儀器檢定規程確定,μm;
δ2——被測齒輪中截面與傳感器在被測齒輪軸向位置的不一致引起的測量誤差,μm;
δ2的計算式見式(16);
δ3——傳感受器的示值誤差,μm;
δ4——測量齒輪制造誤差引起的測量誤差,μm;
δ
4=

……………………(21)
式中:

——測量齒輪的一齒徑向綜合誤差,
δ5——測量齒輪的安裝偏心eo引起的測量誤差,μm;
δ
5=2e
osin(

)……………………(22)
δ6——被測齒輪測量時的安裝偏心e引起的測量誤差,μm。
δ
5=2esin(

)……………………(23)
5.3測量結果的處理

和

應從徑向綜合誤差曲線上取值。對8級和低于8級精度的齒輪允許直接用指示表讀數。
5.3.1誤差曲線取值
徑向綜合誤差曲線的X坐標代表被測齒輪的回轉角,Y坐標代表雙嚙徑向誤差(圖5)。
圖5徑向綜合誤差曲線
徑向綜合誤差曲線在X坐標360°范圍內,Y坐標的最大變化量為

;在X坐標

范圍內,Y坐標的最大變化量為

。

和

應在被測齒輪和測量齒輪的中心距方向(被測齒輪雙側齒面的徑向)計值(μm),以其他方向測量時,應對測得值進行換算,見附錄C(補充件)。
5.3.2指示表讀數
雙面嚙合測量時,被測齒輪旋轉一周內指示表示值最大變化量為

;被測齒輪轉動一個齒距角內,指示表示值的最大變化量為

。
6齒距誤差的檢驗
齒距誤差的檢驗包括齒距偏差Δfpt、齒距累積誤差Δfp和K個齒距累積誤差Δfpk的檢驗。
6.1測量方法和測量儀器
齒距誤差的測量方法有相對法和絕對法。
相對法的測量儀器有萬能測齒儀、半自動齒距儀、上置式齒距儀和旁置式齒距儀等。
絕對法的測量儀器有單面嚙合整體誤差測量儀、萬能齒輪測量機等,也可在三坐標測量機、分度頭和成能工具顯微鏡等儀器上測量。
6.1.1相對法測量原理
相對法測量原理參見圖6。以被測齒輪回轉軸線為基準(也可用齒頂圓代替),采用雙測頭2、4,以被測齒輪1上任一齒距或跨幾個齒的齒距作為相對標準,通過傳感器3依次測量各齒距或跨齒距的相對差值,按誤差定義進行數據處理(見6.3.1),求得Δfp、Δfpk和Δfpt。
圖6 相對法測量原理
1— 被測齒輪;2—測微測頭;3—傳感器;4—定位測頭
6.1.2絕對法測量原理
絕對法又分為直接法和間接法。
直接法測量原理參見圖7。以被測齒輪回轉軸線為基準,用標準圓分度裝置2(如圓光柵、分度盤等)對被測齒輪1分度,由測頭4和傳感器3測出齒距偏差。也可用測頭4和傳感器3定位,由標準圓分度裝置測出實際齒距角,并裝其與公稱齒距角比較,其差值即為齒距偏差。按誤差定義對測得值進行處理,求得Δfp、Δfpk和Δfpt。
圖7絕對法測量原理圖
1— 被測齒輪;2—標準圓分度裝置;3—傳感器;4—測頭
間接法按16.1.1和16.1.2所述的測量原理先測出齒輪截面整體誤差曲線,在該曲線上按誤差定義取出Δfp、Δfpk、Δfpt。
6.2測量
間接法測量見16.2。
6.2.1測量溫度
見表1。
表1齒距誤差的測量溫度
|
被測齒輪精度等級 |
測量室室溫度 |
被測齒輪與測量儀器(或測量元件)的溫差 |
|
相對法 |
絕對法 |
相對法 |
絕對法 |
|
3~5 |
20±2 |
20±3 |
≤2 |
≤3 |
|
6~7 |
20±3 |
20±5 |
≤3 |
≤4 |
|
≥8 |
20±5 |
20±8 |
≤4 |
≤5 |
6.2.2測量儀器的檢定
儀器應按檢定規程或其它有關技術文件的規定進行檢定,經法定部門檢定合格方準使用。
6.2.3測頭的選擇和調整
在保證不發生干涉和碰撞的情況下,宜選擇直徑較大的測頭。
6.2.4測量基準的確定
見附錄B(補充件)。
6.2.5測量位置的確定
齒距誤差應在齒寬和齒高中部,對左、右側齒面進行測量。對齒寬大于160mm的齒輪應至少測量上、中、下三個截面,上、下截面各距端面約百分之十五齒寬。單側齒面工作的齒輪只測工作側齒須。
用相對法測量齒數少于60的齒輪時,采用逐齒測量;測量齒數多于或等于60的齒輪時,對Δfpt仍應采用逐齒測量,對ΔFp和ΔFpk一般應采用跨齒和逐齒補點測量,允許在保證測量不確定符合6.2.6規定的前提下,采用逐齒測量。
6.2.6測量的不確定度
齒距累積誤差的測量不確定度UFP、K個齒距累積誤差的測量不確定度UFPK和齒距偏差的測量不確定度UfPt不應大于被測齒輪對應誤差項目公差的三分之一。測量5級和高于5級精度的齒輪時,允許不大于二分之一,但此時應以五次以上重復測量結果的平均值作為測量結果。用測量法向齒距的方法測量斜齒輪時,UFP、UFPK和UfPt不應大于五分之一;使用手提式儀器測量時UFP、UFPK和UfPt不應大于五分之一。
當不能確定測量不確定度是否能滿足上述要求時,應進行測量不確定度計算。
6.2.6.1齒距累積誤差測量不確定度UFP的計算
UFP(μm)按下式計算:
UF
P=

……………………(24)
式中:δ1——儀器測量齒距累積誤差時的示值誤差[見附錄A(補充件),也允許按儀器檢定規程確定],μm;
當被測齒輪齒數Z或跨齒測量的分組數Q大于儀器檢定時所使用的標準齒輪齒數Z。時,還需用下式被充考核,下式中I為儀器的示值變動性:
δ
1=

……………………(25)
δ2——被測齒輪測量時的安裝偏心引起的測量誤差,μm;
δ2=2e/cosαt……………………(26)
齒頂圓定位時,以頂圓跳動的一半作為安裝偏心量。
6.2.6.2齒距偏差的測量不確定度Ufpt的計算
Ufpt(μm)按下式計算:
Uf
pt=

………………(27)
式中:δ1——儀器測量齒距偏差時的示值誤差[見附錄A(補充件),也允許按儀器檢定規程確定] μm;
δ2——被測齒輪測量時的安裝偏心引起的測量誤差,μm;
δ
2=2esin(

)/cosα
t……………………(28)
齒頂圓定位時,以頂圓跳動量的一半作為安裝偏心量。
6.3測量結果處理
對齒距誤差測量結果的處理可以采用計算法或作圖法或誤差曲線取值法(從整體誤差曲線取值的方法見16.3.1)。
以在6.2.5所規定的各測量位置中測得的最大誤差值作為測量結果。
Δfp、Δfpk、Δfpt應在被測齒輪分度圓切線方向計值(μm),以其它方向測量時,應對測得值進行換算,見附錄C(補充件)。
6.3.1相對法測量結果處理
6.3.1.1逐步測量
a.計算法
從逐齒測量數據計算fp、Δfpk和Δfpt的方法列于表2,以Z=12、K=2的齒輪為例。
表2逐齒測量數據處理

……………………(29)

(取絕對值最大的偏差作為測量結果)………………(30)

…………(31)

……………………(32)
b.作圖法
直角坐標圖上的X坐標代表齒序號i,Y坐標代表齒距誤差(以公度圓弧長

計值)。將測得值按齒序號i依次累積標在坐標圖上(圖8),過坐標原點和最后一個誤差點作一直線,該直線即為計算

的基準線,所有誤差點相對基準線的Y坐標最大值和最小值之差為

,相隔K個齒距的二個誤差相對基準線的Y坐標最大差值為

,相鄰兩個誤差點相對基準的Y坐標最大差值為

圖8逐齒測量結果處理作圖法
c.誤差曲線取值方法
在數據處理系統直接畫出的齒距誤差曲線(圖9)上,X坐標代表齒序i(此X坐標軸就是圖8中的基準線),Y坐標代表齒距誤差(以分度圓弧長μm計值),誤差曲線在被測齒輪齒數范圍內,Y坐標的最大變化量為ΔFp,相鄰兩個誤差點Y坐標的最大差值為Δfpt,相隔K個齒距的兩個誤差點Y坐標的最大差值為ΔFpk。
圖9齒距誤差曲線取值法
6.3.1.2跨齒測量
a.計算法
從跨齒測量數據中求取ΔFp的方法列于表3、4、5、6、7,以Z=60跨齒數N=6,分組數Q=10為例。
表3跨齒齒距累積誤差的數據處理
計算結果給出了相對0#齒的跨齒齒距累積誤差的最大值ΔFpj max=+10 和最小值ΔFpj min=-11。為了求得ΔFpj max應對i=12~18、i=18~24進行逐齒補點測量。為了求得ΔFpj min應對i=42~48、i=48~54進行逐齒補點測量。補點測量數據的處理方法列于表4、5、6、7。
表4 i= i=12~18逐齒補點數據處理
表5 i=18~24逐齒補點數據處理
表6 i=42~48逐齒補點數據處理
表7 i=48~54逐齒補點數據處理
b.作圖法
第一步跨齒齒距累積誤差圖(圖10),以直角坐標圖上的X坐標代表跨齒序號j,Y坐標代表相對對齒距偏差的累積值

將測得值(表3中的

)按跨齒序j依次累積標在坐標圖上,過原點和最后一個誤差點連一直線,該直線即為計算跨齒齒距累積誤差的基準線。找出所有誤差點中相對基準線的縱坐標最大值為

,最小值

。
圖10跨齒齒距累積誤差圖
第二步作分組逐齒齒距累積誤差圖:在直角坐標圖上X坐標代表組內齒序號i,Y坐標代表相對齒距偏差的累積值

。將測得值(表4中的

)按齒序i依次累積標在坐標圖上,將最后一個誤差點的Y坐標減去(

)后,與原點連一直線,該直線即為計算組內各齒相對于j齒的齒距累積誤差的基準線。作與該基準給Y坐標相距(

)的平行線,則此平行線為各齒相對于0#齒的齒距累積誤差的基準線。按上述方法分別作i=12~18,i=18~24, i=42~48,i=48~54四組的齒距累稱誤差圖(圖11、12、13、14)。并從圖中求出

。
圖14 i=48~54逐齒齒距累積誤差圖
6.3.2絕對法測量結果處理
6.3.2.1計算法
從逐齒測量數據中求取Δfpt、ΔFp、ΔFpK的方法見表8。以Z=12,K=2的齒輪為例。
表8絕對法測量數據處理
齒距累積誤差

……………………(33)
齒距偏差

……………………(34)
K個齒距累積誤差

………………(35)
6.3.2.2誤差曲線取值方法
在由數據處理系統直接畫出的齒距誤差曲線上取

的方法與6.3.1.1c相同。
7齒圈徑向跳動的檢驗
7.1測量方法和測量儀器
齒圈徑向跳動ΔFr的測量方法有直接法和間接法。
直接法的測量儀器有齒圈徑向跳動檢查儀和成和測齒儀等。
間接法的測量儀器有齒輪單面嚙合整體誤差測量儀、萬能齒輪測量機以及三坐標測量機等。
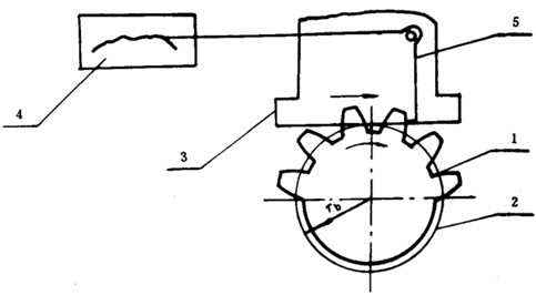
7.1.1直接法測量原理
直接法測量原理參見圖15。以被測齒輪回轉軸線為基準,將測頭依次與齒輪各齒槽齒高中部雙面接觸,測頭相對于齒輪回轉基準軸線的最大徑向變動量即為ΔFr。
圖15直接法測量原理圖
7.1.2間接法測量原理
按16.1.1和16.1.2所述的測量原理,先測出齒輪雙向截面整體誤差曲線,在該曲線上按誤差定義取出ΔFr。
7.2測量
間接測量法見16.2。
7.2.1測量儀器的檢定
儀器應按檢定規程或其他有關技術文件的規定進行檢定,經法定部門檢定合格后方準使用。
7.2.2測頭的選擇
可選用球形測頭,也可以選用圓錐形測頭。測頭直徑應根據被測齒輪模數來選擇,使測頭與被測齒槽的左右齒面在齒高中部接觸。
7.2.3測量基準的確定
見附錄B(補充件)。
7.2.4測量位置的確定
齒圈徑向跳動應在齒寬中部,對齒輪每個齒槽進行測量。對于齒寬大于160mm的齒輪,應至少測量上、下三個截面,上下截面各距端面約百分之十五齒寬。
7.2.5測量的不確定度
齒圈徑向跳動的測量不確定度UFr不應大于被測齒輪齒圈徑向跳動公差的三分之一。
當不能確定測量不確定度是否能滿足上述要求時,應進行測量不確定度的計算。
UFr(μm)按下式計算:
UF
r=

……………………(36)
式中:δ1——儀器的示值變動性[見附錄A(補充件),也允許按儀器檢定規和確定],μm;
δ2——傳感器的示值誤差,μm;
δ3——被測齒輪測量時的安裝偏心引起的測量誤差,μm。
δ3=2e……………………(37)
7.3測量結果處理
ΔFr的測量結果可用直接法直接在指示表上讀出。也可以在用間接法測得的雙向截面整體誤差曲線上取值(詳見16.3.2.1)。
直接法測量時,測頭與被測齒輪作雙面接觸逐齒測量,測頭相對于被測齒輪回轉中心徑向距離的最大變動量為ΔFr。
以在7.2.4所規定的各測量位置中測得的最大齒圈徑向跳動作為測量結果。
ΔFr在被測齒輪雙側齒面的徑向計值(μm),以其它方向測量時,應對測得值進行換算,見附錄C(補充件)。
8公法線長度變動的檢驗
8.1測量儀器和測量原理
8.1.1測量儀器
公法線長度變動ΔFw的測量儀器有:公法線千分尺、公法線指示千分尺、公法線指示卡規、萬能測齒儀,以及萬能工具顯微鏡等測量儀器。
8.1.2測量原理
公法線測量原理參見圖16。測量不需要以被測齒輪回轉軸線為基準。兩個跨一定齒數的具有平行量面的量爪2、4,大約在被測齒輪1的齒高中部與兩異側齒面相切,逐齒測量公法線長度。各公法線長度的最大差值即為ΔFw。
圖16 公法線測量原理圖
1— 被測齒輪;2、4—測量爪;3—傳感器
8.2測量
8.2.1測量儀器的檢定
儀器應按檢定規程或其它有關技術文件的規定進行檢定,經法定部門檢定合格和后方準使用。
8.2.2測量位置的確定
兩平行量爪應跨一定齒數,保證兩測量面大約位于齒高中部與兩異側齒面相切。
應在齒寬中部逐齒測量公法線長度。
8.2.3測量的不確定度
公法線長度的測量不確定度UFw不應大于被測齒輪公法線長度變動公差的五分之一。
當不能確定測量不確定度是否能滿足上述要求時,應進行測量不確定度的計算。
UFw(μm)按下式計算:
UF
w=

……………………(38)
式中:δ1——儀器的示值變動性[見附錄A(補充件),也允許按儀器檢定規程確定],μm;
δ2——傳感受器的示值誤差,μm;
δ3——溫度誤差引起的測量誤差,μm;
δ3=Wk[α(t-20)-αo(to-20)]·1000……………………(39)
8.3測量結果處理
被測齒輪整周內逐齒所測得的公法線長度中最大值與最小值之差即為ΔFw。
ΔFw應在被測齒面法線方向計值(μm),以其它方向測量時,應對測得值進行換算,見附錄C(補充件)。
9齒形誤差有檢驗
9.1測量方法和測量儀器
齒形誤差Δff的測量方法有展成法、坐標法和嚙合法。
展成法的測量儀器有單盤式漸開線檢查儀、萬能漸開線檢查儀(圓盤械桿、正弦械桿、靠模等)和漸開線螺旋線檢查儀(萬能、單盤、分級圓盤)等。
坐標法的測量儀器有漸開線樣板檢查儀、萬能齒輪測量機、齒輪測量中心、上置式直角坐標測量儀以及三坐標測量機等。
嚙合法的測量儀器有齒輪單面嚙合整體誤差測量儀等。
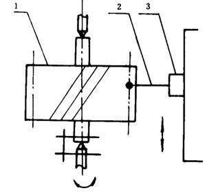
9.1.1展成法測量原理
展成法測量原理參見圖17。以被測齒輪回轉軸線為基準,通過和被測齒輪1同軸的基圓盤2在直尺3上純滾動,形成理論的漸開線軌跡,實際齒形線與理論漸開線軌跡進行比交,其差值通過傳感器5和記錄器4畫出齒形誤差曲線,在該曲線上按誤差定義取出Δff。
圖17展成法測量原理
1— 被測齒輪;2—基圓盤;3—直尺;4—記錄器;5—傳感器
萬能漸開線儀器是通過杠桿或正弦尺機構改變基圓半徑實現對各種不同基圓半徑齒輪的測量。
9.1.2坐標法測量原理
9.1.2.1極坐標法測量原理
極坐標測量原理參見圖18。以被測齒輪回轉軸線為基準,通過測角裝置5(如圓光柵、分度盤)和測長裝置2(如長光柵、激光)測量被測齒輪1的角位移和漸開線展開長度。通過數據處理系統3,將被測齒形線的實際坐標位置與理論坐標位置進行比較,其差值輸入記錄器4畫出齒形誤差曲線,在該曲線上按誤差定義取出Δff。
圖18極坐標法測量原理圖
1— 被測齒輪;2—測長裝置;3—數據處理系統;4—記錄器;5—測角裝置
9.1.2.2直角坐標法測量原理
直角坐標法測量原理參見圖19。以被測齒輪回轉軸線為基準(也可用齒頂圓代替)。測量時被測齒輪固定不動,測頭在垂直回轉軸線的平面內對齒形線作X-Y直角坐標測量,將測得值與理論值按坐標位置進行比較。將各點的差值繪成齒形誤差曲線,在該曲線上按誤差定義取出Δff。
圖19直角坐標法測量原理
9.1.3嚙合法測量原理
按16.1.1所述的測量原理,先測出齒形誤差曲線,在該曲線上按誤差定義取出Δff。
9.2測量
嚙合法測量見16.2。
9.2.測量溫度
見表9。
表9齒形誤差的測量溫度
|
被測齒輪精度等級 |
測量室溫度 |
被測齒輪與儀器(包括樣板)的溫差 |
|
展成法儀器 |
坐標法或單盤式儀器 |
展成法儀器 |
坐標法或單盤式儀器 |
|
3~5 |
20±1 |
20±2 |
≤1 |
≤2 |
|
6~7 |
20±2 |
20±3 |
≤2 |
≤3 |
|
≥8 |
20±3 |
20±5 |
≤3 |
≤4 |
9.2.2測量儀器的檢定
儀器應按檢定規程或其它有關技術文件的規定進行檢定,經法定部門檢定合格后方準使用。
9.2.3測頭的選擇和調整
在保證不發生干涉和碰撞的情況下,宜選擇直徑較大的測頭。
展成法測量和極坐標法測量時測頭的安裝位置應使其工作點位于被測齒輪基圓柱切平面上,其偏離量不應大于±0.02mm。
9.2.4測量儀器的校準
測量5級和高于5級精度的齒輪時,測量前必須先用經法定部門檢定的齒形樣板對儀器進行校準。測量5級齒輪時,應用二等樣板校準;測量3級和4級齒輪時應用一等樣板校準。對于萬能式漸開線檢查儀,當校準樣板與被測齒輪的基圓半徑不致時,應分別用大于和小于被測齒輪的基圓半徑rb的兩塊樣板(基圓半徑rbL和rbs)對儀器進行校準,被測齒輪的基圓半徑修正量Δrb(mm)按下式求得:
Δr
b=

……………………(40)
式中: ——儀器對兩塊樣板基圓半徑的實測值,mm;

兩塊樣板基圓半徑的檢定值,mm;

——被測齒輪基圓半徑的公稱值,mm。
9.2.5測量基準的確定
見附錄B(補充件)。
9.2.6測量位置的確定
齒形誤差應在齒寬中部,對齒輪沿圓周均布的不少于四個齒的左、右側齒面進行測量,被測量的齒高應大于或等于圖紙規定的工作齒高,當圖紙未作規定時,按被測齒輪與基本齒條嚙合計算工作齒高。
對于齒寬大于160mm的齒輪,應至少測量上、中下、三個截面,上、下截面各距端面約百分之十五齒寬。單側齒面工作的齒輪只測工作側齒面。
9.2.7測量的不確定度
齒形誤差的測量不確定度Uff不應大于被測齒輪齒形公差的三分之一。測量5級和高于5級精度的齒輪時,允許不大于二分之一,但此時應以五次以上重復測量結果的平均值作為測量結果。手提式儀器測量時的Uff不應大于五分之一。
當不能確定測量不確定度是否滿足上述要求時,應時行測量不確定的度的計算。
Uff(μm)按下式計算:
Uf
f=

……………………(41)
式中:δ1——儀器測量齒形誤差時的示值誤差[見附錄A(補充件),也允許按儀器檢定規程確定],μm;
δ2——溫度誤差引起的測量誤差,μm;

………………(42)
δ3——測量和校準時測頭在被測齒輪軸向位置不一致引起的測量誤差,μm;

……………………(43)
式中:S——測頭使用位置和校準間在被測齒輪軸向的距離,mm;

——測頭滑架在基圓切平面的擺角誤差,(″)

——被測齒輪測量時的安裝偏心引起的測量誤差,μm;

……………………(44)
直角坐標法測量時,

……………………(45)
式中:

——齒頂點和齒根起始檢驗點的徑向直線與Y軸的夾角,(°)

——被測斜齒輪測量時的安裝傾斜引起的測量誤差,μm;

………………(46)
式中:

——在L
af范圍內的測頭移動軌跡線與被測齒輪軸線的垂直度誤差,μm。
9.3測量結果的處理
9.3.1取值范圍的確定
齒形誤差曲線的取值范圍應按設計圖樣給定的齒形工作部分確定。以展開長度L
af(mm)或展開角

(°)表示。當未給定時,頂部 范圍內偏向齒體的負誤差可不計入齒形誤差,但負誤差值不應超過3f
f,

。
9.3.1.1當已知配對齒輪的參數時,按與配對齒輪嚙合計算取值范圍。

………………(47)

……………………(48)

………………(49)

………………(50)
式中:C——由中心距偏差和配對齒輪的齒頂圓徑向跳動引起的齒根起始檢驗點展開長度的變化量,mm。
9.3.1.2當未知配對齒輪參數時,按與基本齒條嚙合計算取值范圍。

……………………(51)

……………………(52)

………………(53)

………………(54)
9.3.2齒形誤差的取值

應從齒形誤差曲線上取值。對非修形的齒形,允許用指示表讀出齒形誤差。
齒形誤差曲線的X坐標代表被測齒輪的展開角(或展開長度),Y坐標代表齒形誤差(圖20)。

應在被測齒輪端截面的齒輪基圓切線方向計值(μm),以其它方向測量時,應對測得值進行換算,見附錄C(補充件)。
圖20齒形誤差曲線
齒形誤差曲線沿X坐標,在9.3.1規定的取值范圍

內,Y坐標的最大變化量為

(齒頂倒棱部分不計值)。計值范圍以外的齒頂部分的齒形誤差只允許偏向齒體內(詳見9.3.1).
以在9.2.6所規定的各測量位置中測得的最大齒形誤差作為測量結果。
10基節偏差的檢驗
10.1測量方法和測量儀器
基節偏差

的測量方法有直接法和間接法。
直接法的測量儀器有基節儀、萬能測齒儀及萬能工具顯微鏡等。
間接法的測量儀器有齒輪單面嚙合整體誤差測量儀和萬能齒輪測量機等。
10.1.1直接法測量原理
直接法測量又可分為比較法和絕對法。這兩種方法都不需以被測齒輪回轉軸線為基準。
10.1.1.1比較法
比較法的測量原理參見圖21(a)。測頭1、2為兩個平面測頭,其測量面互相平行。測量前先用基節塊(或量塊)將兩測頭測量面間的距離調整至等于被測齒輪的公稱基節值,同時使表3指零。測量時將兩測頭同時靠向被測齒輪的兩個相鄰的同側齒面,在齒形工作范圍內與齒面相切接觸,此時指示表3所指示的相對零點的變化即為基節偏差。
圖21(a)中的活動測頭2也可以為球形測頭[圖21(b)],測量時通過平面測頭1在所靠齒面上轉動,得到球與平面的最短距離即被測基節的實際值,此時指示表所指示的相對于零點的變化量是實際基節與公稱基節之差即為基節偏差。
圖21比較法測量原理圖
1— 固定平測頭;2—活動平測頭; 1—固定平測頭;2—活動球測頭
3—指示表 3—指示表;4—定位測頭
10.1.1.2絕對法
絕對法測量可在一般測長儀(如萬能工具顯微鏡)上實現。平面測頭與測長系統中的長度標準量垂直。測量時,測頭在齒形工作高度范圍內與相鄰兩個同側齒面相切接觸,測長系統直接指示測頭的實際移動距離即實際基節。實際基節與公稱基節之差為基節偏差。
10.1.2間接法測量原理
按16.1.1和16.1.2所述的測量原理,先測出齒輪截面整體誤差曲線,在此曲線上按誤差定義取出Δfpb。
10.2測量
間接法測量見16.2。
10.2.1測量溫度
見表10。
表10基節偏差的測量溫度
|
被測齒輪精度等級 |
測量室溫度 |
工件與儀器(包括校準塊)溫差 |
|
4~5 |
20±4 |
≤2 |
|
6~7 |
20±6 |
≤4 |
|
≥8 |
20±10 |
≤6 |
10.2.2測量儀器的檢定
儀器應按檢定規程或其它有關技術文件的規定進行檢定,經法定部門檢定合格后方準使用。
10.2.3測量儀器的校準
采用比較法測量時,測量前、后應用標準基節塊或量塊校準儀器。測量5級和高于5級精度的齒輪時,選用四等量塊;測量6級和低于6級精度的齒輪時,選用五等量塊。
10.2.4測量位置的確定
基節偏差應在齒寬中部對圓周均布的不少于四個齒的左、右側齒面在圖紙規定的工作齒高內(齒形修形部分除外)進行測量。當圖紙未作規定時,按被測齒輪與基本齒條嚙合計算工作齒高。對于齒寬大于160mm的齒輪應至少測量上、中、下三個截面,上、下截面各距端面約百分之十五齒寬。單側齒面工作的齒輪只測工作側齒面。
10.2.5測量的不確定度
基節偏差測量的不確一度Ufpb不應大于被測齒輪基節極限偏差的三分之一。使用手提式儀器時,不應大于五分之一。
當不能確定測量不確定度是否滿足上述要求時,應時行測量不確定度的計算。
Ufpb(μm)按下式計算:
Ufpb= ……………………(55)
式中:δ1——儀器的示值誤差[見附錄A(補充件)也允許按儀器檢定規程確定],μm;
比較法測量時,δ1為儀器的示值變動性,μm;
δ2——傳感受器的示值誤差,μm
絕對法測量時,此誤差包括在δ1中,此時δ2=0;
δ3——被測齒輪與校正量塊(或測長系統的標準尺)溫度不一致產生的測量誤差,μm。
δ3=Pb[α(t-20)- αo(to-20)]·1000………………(56)
10.3測量結果的處理
Δfpb可在用間接法測得的截面整體誤差曲線上取值(見16.3.1.4)也可用直接法在指示表上讀出(齒形修形部分不計值)。
以在10.2.4所規定的各測量位置中測得的絕對值最大的基節偏差作為測量結果。
Δfpb應在被測齒面的法線方向計值(μm),以其它方向測量時,應對測得值進行換算,見附錄C(補充件)。
11齒向誤差的檢驗
11.1測量方法和測量儀器
齒向誤差ΔFβ的測量方法有展成法、坐標法和嚙合法。
展成法的測量儀器有單盤式漸開線螺旋線檢查儀、分級圓盤式漸開線螺旋線檢查儀、杠桿圓盤式萬能漸開線螺旋線檢查儀和導程儀等。
坐標法的測量儀器有螺旋線樣板檢查儀、齒輪測量中心、帶齒向測量裝置的齒輪單面嚙合整體誤差測量儀和三坐標測量機等。
嚙合法的測量儀器有齒輪單面嚙合整體誤差測量儀等。
11.1.1展成法測量原理
展成法測量原理參見圖22。以被測齒輪回轉軸線為基準,通過精密傳動機構實現被測齒輪1回轉和測頭2沿軸向移動,以形成理論的齒線軌跡。實際齒線與理論齒線軌跡進行比較,其差值輸入記錄器繪出齒向誤差曲線,在該曲線上按誤差定義取出ΔFβ。
圖22展成法測量原理
1— 被測齒輪;2—測頭;3—測頭滑架
11.1.2坐標法測量原理
以被測齒輪回轉軸線為基準,通過測角裝置(如圓光柵、分度盤)和測長裝置(如長光柵、激光)測量齒向線的回轉角坐標和軸向坐標,將被測齒線的實際位置與理論坐標位置進行比較,其差值輸入記錄器繪出齒向誤差曲線,在該曲線上按誤差定義取出ΔFβ。
11.1.3嚙合法測量原理
以被測齒輪回轉軸線為基準,使齒條(或圓柱)與被測齒面作接觸點沿被測齒面齒線移動的嚙合運動,由測量該實際嚙合運動與理論嚙合運動之差測得齒向誤差;虬16.1.1所述的測量原理,測出齒輪全齒寬整體誤差曲線,在該曲線上按誤差定義取出ΔFβ。
11.2測量
嚙合法測量見16.2。
11.2.1測量溫度
見表11。
|
被測齒輪精度等級 |
測量室溫度 |
被測齒輪與儀器溫差 |
|
展成法儀器 |
單盤式或坐標法儀器 |
展成法儀器 |
單盤式或坐標法儀器 |
|
3~5 |
20±1 |
20±2 |
≤1 |
≤2 |
|
6~7 |
20±2 |
20±3 |
≤2 |
≤3 |
|
≥8 |
20±3 |
20±5 |
≤3 |
≤4 |
11.2.2測量儀器的檢定
儀器應按檢定規程或其它有關技術文件的規定進行檢定。經法定部門檢定合格后方準使用。
11.2.3測頭的選擇
在保證不發生干涉和碰撞的情況下,宜選用直徑較大的測頭。
11.2.4測量儀器的校準
測量5級和高于5級精度的齒輪,測量前必須用經法定部門檢定的齒輪螺旋線樣板對儀器進行校準。
11.2.5測量基準的確定
見附錄B(補充件)。
11.2.6測量位置的確定
齒向誤差應在齒高中部,對齒輪沿圓周均布的不少于四個齒的左、右側齒面進行測量。單側齒面工作的齒輪只測工作側齒面。
11.2.7測量的不確定度
齒向誤差的測量不確定度UFβ不應大于被測齒輪齒向公差的三分之一,測量五級和高于五級精度的齒輪時,允許不大于二分之一,但此時應以五次以上重復測量結果的平均值作為測量結果。使用手提式儀器測量時的UFβ不應大于五分之一。
當不能確定測量不確定度是否滿足上述要求時,應進行測量不確定度的計算。
UFβ(μm)按下式計算:
UF
β=

……………………(57)
式中:δ1——儀器的示值誤差[見附錄A(補充件),也允許按儀器檢定規程確定],μm;
δ2——溫度誤差引起的測量誤差,μm;
δ2=bud[α(t-20)αo(to-20)]tgβ·1000……………………(58)
式中:bud——被測齒向所在齒寬和度,mm。
δ3——被測齒輪測量時的安裝 傾斜引起的測量誤差,μm;
δ3=Δy·bud/100/cosαt………………(59)
式中:Δy——被測齒輪軸線在100mm長度上的傾斜量,μm。
δ4——被測齒輪測量時的安裝偏心引起的測量誤差,μm。
δ4=2e·sin(θ/2)/cosαt………………(60)
式中:θ——齒向線在齒輪分度圓柱面上所點的圓周角。(°)。
11.3測量結果處理
11.3.1取值范圍的確定
齒向誤差的取值范圍bud應按設計圖樣給定的齒寬工作部分確定。當未給定時,距齒寬每端Δb齒寬部分偏向齒體的誤差可不計入齒向誤差,但負誤差值不應超過3Fβ,Δb=bud·5%,Δb≤mn.
11.3.2齒向誤差的取值
ΔFβ應從齒向誤差曲線上取值,也允許在全齒寬整體誤差曲線上取值(詳見16.3.3.2)。對齒向線不修形的齒輪也允許直接用指示表讀出齒向誤差。
齒向誤差曲線的X坐標代表被測齒輪軸向位置,Y坐標代表被測齒輪的齒向誤差(圖23)。
齒向誤差曲線沿X坐標在11.3.1規定的取值范圍內Y坐標的最大變化量為ΔFβ(端面倒角部分不計值)。計值范圍以外的齒寬兩端的齒向誤差只允許偏向齒體內(見11.3.1).
ΔFβ應在被測齒輪端截面的齒輪分度圓切線方向計值(μm),以其它方向測量時,應對測得值進行換算,見附錄C(補充件)。
以11.2.6所規定的各測量位置中測得的最大齒向誤差作為測量結果。
圖23齒向誤差曲線
12接觸線誤差的檢驗
12.1測量方法和測量儀器
接觸線誤差ΔFb的測量方法有直接法和間接法。
直接法的測量儀器有接觸線誤差檢查儀、具用測量接觸線誤差功能的漸開線螺旋線檢查儀、萬能工具顯微鏡和三坐標測量機等。
間接法的測量儀器有齒輪單面嚙合整體誤差測量儀等。
12.1.1直接法測量原理
直接法測量原理參見圖24。以被測齒輪回轉軸線為基準,齒輪固定不轉使測頭在齒輪基圓柱2的切平面3上沿與基圓柱母線成基圓螺旋角的斜直線方向稱動,以形成理論接觸線軌跡4,實際接觸線與理論接觸線軌跡進行比較,其最大差值即為ΔFb(圖24)。也可使測頭沿齒面接觸線逐點與齒面接觸,測量點的實際坐標位置與理論坐標位置之最大差值即為ΔFb。
圖24直接法測量原理
1— 傳感器;2—基圓柱;3—基圓切平面;4—接觸線
12.1.2間接法測量原理
按16.1所述的測量方法,先測出齒輪全齒寬整體誤差曲線,在該曲線上按誤差定義取出接觸線誤差。
12.2測量
間接法測量見16.2。
12.2.1測量儀器的檢定
儀器應按檢定規程或其它有關技術文件的規定進行檢定,經法定部門檢定合格后方準使用。
12.2.2測頭的選擇
在保證不發生干涉和碰撞的情況下,宜選用直徑較大的測頭。
12.2.3測量基準的確定
見附錄B(被充件)
12.2.4測量位置的確定
按觸線誤差應對齒輪沿圓周均布的不少于四個齒的左、右側齒面在工作齒高范圍內進行測量。
接觸線長度Lb(mm)的所對應的齒寬baf(mm)按下列式計算:
Lb=Laf/sinβb………………(61)
baf= Laf/tgβb………………(62)
式中:Laf——見9.3.1。
當齒寬b<3baf時,所測的接觸線應大致通過齒高和齒寬的中部。
當齒寬b≥3baf時,沿齒寬應至少測量上、中、下、三個部位,上、下部位被則接觸線的最上一點或最下一點距端面約十分之一齒寬。
單測齒面工作的齒輪,只測工作側齒面。
當采用設計齒形和設計齒向線時,修形部分不檢ΔFb。
12.2.5測量的不確定度
接觸線誤差的測量不確定度UFb不應大于被測齒輪接觸線公差的三分之一,測量五級和高于五級精度的齒輪時,允許不大于二分之一,但此時應以五次以上重復測量結果的平均值作為測量結果。
當不能確定測量不確定度是否滿足上述要求時,應進行測量不確定度的計算。
UFb(μm)按下式計算:
UF
b=

……………………(63)
式中:δ1——儀器的示值誤差[見附錄A(補充件),也允許按儀器檢定規程確定],μm;
δ2——被測齒輪測量時的安裝傾斜引起的測量誤差,μm;
δ
2=

……………………(64)
式中:

——基準軸線在100mm長度上的傾斜量,μm。
12.3測量結果的處理
12.3.1取值范圍的確定
接觸線誤差的取值范圍lb應按設計圖樣給定的接觸線長度范圍確定。當未給定時,齒頂部接觸線Δlb范圍內偏向齒體的負誤差可不計入接觸線誤差,但負誤差值不應大于3Fb,Δlb等于lb的百分之八。
lb按下試計算:
a) 當齒寬b<baf時:Lb=Laf/sinβb……………………(65)
b) 當齒寬b≤baf時:Lb=b/cosβb……………………(66)
12.3.2接觸線誤差的取值
ΔFb應從接觸線誤差曲線上取值,也允許在全齒寬整體誤差曲線上取值(詳見16.3.3.3)。對齒形和齒向均不修形的齒輪也允許直接用指示表讀出接觸線誤差。
接觸線誤差曲線的X坐標代表被測齒輪接觸線長度,Y坐標代表接觸線誤差(圖25)。
接觸線誤差曲線沿X坐標,在12.3.1的規定的取值范圍lb內,Y坐標的最大變化量為ΔFb。
ΔFb應在被測齒輪的齒面法線方向計值(μm),以其它方向測量時,應對測量結果進行換算,見附錄C(補充件)。
以在12.2.4所規定的各測量位置中測得的最大接觸線誤差作為測量結果。
圖25接觸線誤差曲線圖
13軸向齒距偏差的檢驗
13.1測量方法和測量儀器
軸向齒距偏差ΔFpx的測量方法有直接法和間接法。
直接法的測量儀器有上置式軸向齒距儀和旁置式軸向齒距儀等。也可在萬能工具顯微鏡等儀器上測量。
間接法的測量儀器有齒輪單面嚙合整體誤差測量儀等。
13.1.1直接法測量原理
直接法測量原理又可分為比較法和絕對法。
13.1.1.1比較法
比較法測量原理參見圖26。以被測齒輪軸線為基準,在與軸線平行的直線上,先用具有公稱軸向齒距的基準塊(或量塊)校準2、3兩個球測頭的軸向距離,測量時把校準過的兩個測頭同時靠向被測齒輪軸向上兩齒的同側齒面上,直接測出齒輪的實際軸向齒距與公稱軸向齒距的差值,其最大差值為軸向齒距偏差。
圖26比較低法測量原理圖
1— 被測齒輪;2—測頭;3—測頭;4—傳感器
13.1.1.2絕對法
絕對法測量原理參見圖27。以被測齒輪軸線為基準,在與軸線平行的直線上,用一個球測頭2分別靠向不同齒的同側齒面上,通過測長裝置3(如光柵、激光、刻線尺)直接測出被測齒輪1的實際軸向齒距,所測的實際軸向齒距與公稱軸向齒距的最大差值即為ΔFPX。
圖27絕對法測量原理圖
1— 被測齒輪;2—測頭;3—長度測量系統
13.1.2間接法測量原理
按16.1所述的測量方法先測出齒輪全齒寬整體誤差曲線,在該曲線上按誤差定義取出ΔFPX。
13.2測量
間接法測量見16.2。
13.2.1測量溫度
見表12。
表12軸向齒距偏差的測量溫度
|
齒輪精度等級 |
測量室溫度 |
工作與儀器(包括校準塊)溫差 |
|
4~5 |
20±4 |
≤2 |
|
6~7 |
20±6 |
≤4 |
|
≥8 |
20±10 |
≤6 |
13.2.2測量儀器的檢定
儀器應按檢定規程或其他有關技術文件的規定進行檢定,經法定部門檢定合格后方準使用。
13.2.3測量儀器的校準
比較法測量前、后應用量塊和專用檢具校準儀器。
13.2.4測量基準的確定
見附錄B(補充件)。
13.2.5測量位置的確定
軸向齒距偏差應在齒高中部對圓周均布的不少于四個位置的左、右側齒面沿軸向逐齒進行測量。單側齒面工作的齒輪,只測工作側齒面。
采用比較法測量時,應逐個測量各單個軸向齒距偏差,對于5級和高于5級精度的齒輪應加測跨距最大的軸向齒距偏差。
采用絕對法測量時,應以工作齒寬內最靠某端的齒為起始位置依次沿軸向逐齒測量對該齒的軸向齒距偏差。
13.2.6測量的不確定度
軸向齒距測量的不確定度UFpx不應大于被測齒輪軸向齒距極限偏差的三分之一,使用手提式儀器測量時,不應大于五分之一。
當不能確定測量不確定度是否能滿足上述要求時,應時行測量不確定度的計算。
UFpx(μm)按下式計算
UF
px=

……………………(67)
式中:δ1——儀器的示值誤差[見附錄A(補充件)也允許按儀器檢定規程確定],μm;
比較法測量時,δ1為儀器的示值變動性,μm。
δ2——傳感器的示值誤差,μm;
絕對法測量時,此誤差已包括在δ1中,此時δ2=0。
δ3——被測齒輪與量塊(或測量系統標準尺)溫度不一致產生的測量誤差,μm;
δ3=Lx[α(t-20)- αo(to-20)]sinβb·1000……………………(68)
式中:Lx——被測兩個同側齒面的公稱軸向齒距,mm。
δ4——雙測頭的連心線或單測頭的移動方向與軸心線不平行產生的測量誤差,μm;
δ
4=

…………(69)
式中: ——在切向平面內的平行度誤差,μm;
——在徑向平面內的平行度誤差,μm。
13.3測量結果的處理
ΔFpx的測量結果可用直接法直接在指示表上讀出,也可在用間接法測得的全齒寬整體誤差曲線上取值(詳見16.3.3.4)。
ΔFpx應在齒面法線方向計值(μm),以其它方向測量時,應對測量結果進行換算(見附錄C)。
以在13.2.5所規定的各測量位置中測得的絕對值最大的軸向齒距偏差作為測量結果。
13.3.1比較法測量結果的處理
由指示表讀出的逐齒軸向齒距偏差ΔPxi經計算得到ΔFPX(見表13)。
表13逐齒測量數據處理
ΔFPXi——第i齒面相對0號齒面的軸向齒距累積偏差。
當加測跨齒距最大的軸向齒距偏差ΔPx(0-5)時,可用測得的ΔPx(0-5)對表13列誤差值進行修正,按表14的計算順序算出較精確的ΔFPX。
表14跨齒修正法數據處理
ΔPxm——軸向齒距偏差修正量;
ΔPmi——修正后逐齒單軸向齒距偏差;
ΔFpxmi——修正后第i齒相對于0齒面的軸向齒距偏差。
13.3.2絕對法測量結果的處理
用單測頭在軸向上第一個齒面對零,逐齒測出各齒面相對于第一齒面的軸向齒距偏差,所測昨的各齒軸向齒距偏差中最大偏差和最小偏差之差值即為ΔFpxo
14螺旋線波度誤差的檢驗
14.1測量方法和測量儀器
螺旋線波度誤差Δffβ的測量有相對測量法和絕對測量法。
相對法的測量儀器, 有上置式波度及旁置式波度儀等。
絕對法的測量儀器有漸開線螺旋線檢查儀和導程儀等。
14.1.1相對法測量原理
螺旋線波度相對測量法以三球測量為行特征。相對法又可分為單面接觸法和雙面接觸法。
14.1.1.1單面接觸法
單面接觸法測量原理參見圖28。以被測齒輪回轉軸線為基準,用機床或儀器的螺旋運動作為測頭在被測齒面沿螺旋線移動的粗傳動。儀器采用旁置式,儀器上三個球測頭中有兩個測頭是定位測頭1,測量前先把二定位測頭的間距調整至螺旋線波寬波距的奇數倍,測微測頭2置于二定位測頭的中間位置并使測頭位移方向與齒面垂直,三個測頭應置于單側齒面的同一螺旋線上。測量時,依靠粗傳動,三個測頭沿齒面螺旋線移動,此時測微測頭相對于定位測頭的最大位移變化量即為2Δffβ。
圖28單面接觸法測量原理
1— 定位測頭;2—測微測頭
14.1.1.2雙面接觸法
雙面接觸法測量原理參見圖29。它與單面接觸法的主要差別是儀器為上置式,測量時被測齒輪不動,儀器的兩個定位測頭1與被測齒輪同一齒槽的左右側齒面接觸并沿齒槽作螺旋線移動,(測頭3與齒頂面接觸,防止轉動)此時測微測頭2相對于定位測頭的最大位移變化量即為2Δffβ。
圖29雙面接觸法測量原理
1— 定位測頭;2—測微測頭;3—防轉定位測頭
14.1.2絕對法測量原理
按11.1所述方法測出齒向誤差曲線,在此曲線上按誤差定義取出Δffβ。
14.2測量
絕對法測量見11.2。
14.2.1測量儀器的檢定
儀器應按檢定規程或其它有關技術文件的規定進行檢定,經法定部門檢定合格后方準使用。
14.2.2測頭的選擇與調整
雙面接觸測量儀器的兩個定位球測頭的直徑應一致,并根據被測齒輪模數選擇,要使定位球測頭與被測齒輪齒槽的左右側齒面大約在齒高中部接觸。
單面接觸測量儀器的兩個定位球測頭的直徑應一致,并使定位測頭與被測齒面大約在齒高中部接觸而又不能觸及另一側齒面。
儀器兩定位測頭之間的距離測量前應調整到被測波度誤差波距的奇數位(1、3、5……等)。波距應根據設計圖樣確定。在圖樣未作規定時,應分別按加工機床分度蝸輪副的周期誤差,機床走刀架絲杠的周期誤差和晝夜自然溫度變化產生的齒向波度計算波距λ。
按分度蝸輪副的周期誤差計算:
λ
1=

(mm)………………(70)
按走刀架絲杠的周期誤差計算:
λ
2=

(mm)………………(71)
按晝夜自然溫度變化計算:
λ
2=

………………(72)
式中:S——加工時工件每轉進給量,mm/r;
n——單頭滾刀每分鐘轉數,r/mim;
Zw——機床分度蝸輪齒數;
tp——刀架絲杠螺距,mm。
測微測頭應位于兩定位測頭的1/2處,在齒面法線方向與被測齒面接觸,而又不觸及另一側齒面。在保證不發生干涉和碰撞的情況下,測微測頭直徑應盡量接近定位測頭的直徑。三個測頭與被測齒面的接觸點應位于被測齒輪的同一條螺旋線上。
14.2.3測量位置的確定
波度誤差應在齒高中部,對圓周均布的不少于4個齒槽的左右齒面在工作齒寬范圍內進行測量。單側齒面工作的齒輪只測工作側齒面。
14.2.4測量的不確定度
波度誤差的測量不確定度Uffβ不應大于被測齒輪螺旋線波度公差的五分之一。
當不能確定測量不確定度是否能滿足上述要求時,應時行測量不確定度的計算。
Uffβ(μm),按下式計算:
Uf
fβ=

……………………(73)
式中:δ1——儀器的示值變動性[見附錄A(補充件),也允許按儀器檢定規程確定],μm;
δ2——傳感受器的示值誤差,μm;
δ3——儀器測量時定位誤差引起的測量誤差,μm;
單面測量法此項誤差為零。
δ
3=

……………………(74)
式中: ——測微頭球心和兩定位測頭球心連線的垂直距離,mm;
——測量過程中由防轉定位測頭在齒頂面定位點的齒頂圓半徑變化引起的儀器在垂直螺旋線的平面上的轉角,(″)。
14.3測量結果處理
相對法的測得值可以從波度誤差曲線上讀取,也可以從指示表直接讀取。波度誤差曲線上,多次重復出現的誤差的最大波高的二分之一Δffβ
絕對法的測得值從齒向誤差曲線上讀取。齒向誤差曲線上多次重復出現的誤差的最大波高為Δffβ(圖30)。
Δffβ應在被測齒面的法線方向計值(μm),以其它方向測量時,應對測量結果進行換算,見附錄C(補充件)。
在14.2.3所規定的各測量位置中,以不同波距測得的最大誤差作為測量結果。單側齒面工作的齒輪只計單側齒面的誤差。
圖30齒向誤差曲線上取波度誤差
15齒厚的檢驗
齒厚的檢驗包括齒厚偏差ΔEs、公法線平均長度偏差ΔEwm、基本齒廊位移ΔEH、量柱測量距(M值)偏差ΔEM和雙嚙中心距偏差 的檢驗。
15.1測量方法和測量儀器
齒厚的測量方法有直接法和間接法。間接法又可分為四種:公法線平均長度偏差的測量、基本齒廓位移的測量、量柱測量距(M值)偏差的測量和雙嚙中心中工偏差的測量。
直接法的測量儀器有齒厚游標卡尺、光學測齒卡尺等。也可在萬能工具顯微鏡等儀器上測量。
公法線平均長度偏差的測量儀器有公法線千分尺等。也可用游標卡尺、萬能工具顯微鏡等儀器測量。
基本齒廓位移的測量儀器有正切齒厚規等。
量柱測量距(M值)偏差的測量儀器一般用變通千分尺和標準圓柱組合使用。
雙嚙中心距偏差的測量儀器有雙面嚙合檢查儀等。
15.1.1齒厚偏差的測量原理參見圖31。
圖31齒厚偏差測量原理。
以被測齒輪回轉軸線為基準一(一般用齒輪外圓代替),測量齒輪分度圓柱上同一齒左右齒面之間的弧長或弦長,實測值與公稱值之差即為齒厚偏差。各齒中最大齒厚與公稱齒厚之差為齒厚上偏差ΔESS,最小齒厚與公稱齒厚之差為齒厚下偏差ΔEsi。
15.1.2公法線平均長度偏差的測量原理
公法線平均長度偏差的測量原理基本和8.1.1一樣,但公法線長度必須測出絕對長度,按各齒公法線實測長度,通過計算求得平均值,此平均值和公稱值之差即為ΔEwm。
由于公法線測量不以齒輪回轉軸線為基準,它不反蚋齒輪徑向偏心誤差對齒厚偏差的影響(但齒厚偏差包括徑向偏心誤差的影響)。因此用公法線平均長度偏差來代替齒厚偏差時,除了應按齒輪精度標準壓縮齒厚偏差的公差處,還應保證齒圈徑向跳動在公差范圍內。
15.1.3基本齒廓位移的測量原理
基本齒廓位移測量原理參見圖32。以被測齒輪回轉軸線為基準(一般用齒輪外圓代替),測量被測齒輪齒體或齒槽固定弦相對于回轉軸線的徑向距離。實際距離與公稱距離之差即為基本齒廓位移。其最大距離與公稱距離這差為基本齒廓位移上偏差ΔEHs,最小距離與公稱距離之差為基本齒廓位移下偏差ΔEHi。
圖32基本齒廓位移測量原理圖
基本齒廓位移的測量實際上也就是測量固定弦齒偏差在齒輪徑向的反映值。
15.1.4量柱測量偏差的測量原理參見圖33。
圖33量柱測量距偏差測量原理
量柱測量距偏差的測量不需以齒輪回轉軸線為基準,而是將兩個與左右齒面高中部接觸的精密圓柱(或圓球)放于被測齒輪沿圓周相隔180°(偶數齒)或(1-1/Z)180°(奇數齒)的兩個齒槽內。用千分尺或其它通用長度量儀測量兩圓柱外尺寸(內齒輪為內尺寸)之間的距離,即量柱測量距的M值。實測M值的平均值與公稱M值之差為量柱測量距偏差,其最大差值即為ΔEM。
由于量柱測量距偏差不反映齒輪徑向偏心誤差的影響(但齒厚偏差包括齒輪徑向偏心誤差的影響),除了應按齒輪精度標準的規定壓縮齒厚偏差的公差外,還應保證齒圈徑向跳動在公差范圍內。
15.1.5雙嚙中心距偏差的測量原理
雙嚙中心距偏差的測量原理和5.1.1基本一樣,但測量前應按雙嚙中心距的公稱值α″,用量塊或其它標準量具將儀器對零(指示表對零或在記錄紙上畫一條零線),測得的實際中心距與公稱中心距之差即為雙嚙中心距偏差。被測齒輪一轉中最大中心距與公稱中心距之差為雙嚙中心距上偏差 。
15.2測量
15.2.1齒厚偏差的測量
15.2.1.1測量儀器的檢定
儀器應按檢定規程或其它有關技術文件的規定進行檢定,經法定部門檢定合格后方準使用。
15.2.1.2測量基準有確定
應選擇被測齒輪的設計基準作為測量基準。由測量時的定位誤差造成的被測齒輪的徑向跳動不大于齒圈徑向跳動公差的八分之一。當以頂圓作測量基準時,頂圓直徑即頂圓的徑向跳動應符合GB10095中附錄B的規定。
15.2.1.3測量位置的確定
應對沿圓周均布的至少四個輪齒進行測量,可在被測齒輪分度圓上測量分度圓弧齒厚(或弦齒厚)。也可測量固定弦齒厚。
對于斜齒輪應在法平面測量,也允許在端面測量。
15.2.1.4測量的不確定度
齒厚偏差測量的不確定度UEs不應大于齒厚極限偏差的五分之一。
當不能確定測量不確定度是否能滿足上述要求時,應時行測量不確定度的計算。
UEs(μm)按下式計算:
UE
s=

……………………(75)
式中:δ1——儀器的示值誤差[見附錄A(補充件),也允許按儀器檢定規程確定],μm;
δ2——測量圓半徑的定位誤差或外圓定位半徑的定位誤差所引起的測量誤差,μm;
δ
2=2·

……………………(76)
式中: ——定位半徑誤差,μm;
Z——被測齒輪次數。
15.2.2公法線平均長度偏差的測量
15.2.2.1測量儀器的檢定
儀器應按檢定規程或其它有關技術文件的規定進行檢定,經法定部門檢定合格后方準使用。
15.2.2.2測量位置的確定
兩平行量爪應跨一定齒數,決定跨齒數時應保證兩測量面大約于齒高中部與兩異測齒面相切。
至少測量被測齒輪沿圓周均布的四個位置的公法線長度。
15.2.2.3測量的不確定度
公法線平均長度偏差測量的不確定度UEwm不應大于公法線平均長度公差的五分之一。
當不能確定測量不確定度是否能滿足上述要求時,應進行測量不確定度的計算。
UEwm(μm)按下式計算:
UEwm=δ1……………………(77)
式中:δ1——儀器的示值誤差[見附錄A(補充件),也允許按儀器檢定規程確定],μm。
15.2.3基本齒廓位移的測量
15.2.3.1測量儀器的檢定
儀器應按檢定規程或其它有關技術文件的規定進行檢定,經法定部門檢定合格后方準使用。
15.2.3.1測頭的選擇與調整
測頭可以是具有標準基本齒廓的齒槽測頭,也可以是具用標準基本齒廓的齒本齒頭或具有標準壓力角的圓錐測頭。
測頭所具有的標準基本齒廓的模數和壓力角應和被測齒輪一致。
基本齒廓相對被測齒輪回轉軸線(或用外圓找替)的理論徑向位置在測量前應先用標準齒輪或標準圓柱或其經標準化校準。
15.2.3.3測量基準的確定
見15.2.1.2。
15.2.3.4測量位置的確定
應對沿圓周均布的至少四個輪齒進行測量?梢詼y量齒體固定弦,也可測量齒槽固定弦。
15.2.3.5測量的不確定度
基本齒廓位移測量的不確定度UEH不應大于基本齒廓位移公差的五分之一。
當不能確定測量不確定度是否滿足上述要求時,應進行測量不確定度的計算。
UEH(μm)按下式計算:
UE
H=

……………………(78)
式中:δ1——儀器的示值誤差[見附錄A(補充件),也允許按儀器檢定規程確定],μm;
δ2——傳感器的示值誤差,μm;
δ3——齒頂圓半徑的定值誤差,μm。
不用齒頂圓定位時,δ3=0
15.2.4量柱測量距(M距)偏差的測量
15.2.4.1測量儀器的檢定
儀器應按檢定規程或其它有關技術文件的規定進行檢定,經法定部門檢定合格后方準使用。
15.2.4.2測量圓柱(或圓球)的選擇
測量圓柱(或圓球)的直徑按被測齒輪的模數來選擇,應保證能與被測齒槽的左右齒面在分度圓附近接觸。
15.2.4.3測量位置
至少測量圓周上均布的兩對齒的M值。
15.2.4.4測量的不確定度
量柱測量距偏差測量的不確定度UEM不應大于被測齒輪量柱測量距公差的五分之一。
當不能確定測量不確定度是否能滿足上述要求時,應進行測量不確定度的計算。
UEM(μm)按下式計算:
UE
M=

……………………(79)
式中:δ1——儀器的示值誤差[見附錄A(補充件),也允許按儀器檢定規程確定],μm;
δ2——測量圓柱(或圓球)引起的誤差,μm;
δ
2=2·

……………………(80)
式中: ——測量圓柱(或圓球)的半徑誤差,μm;
——圓柱(或圓球)中心點的端面壓力角,(°)。
15.2.5雙嚙中心距偏差的測量
15.2.5.1測量儀器的檢定
儀器應按檢定規程或其它有關技術文件的規定進行檢定,經法定部門檢定合格后方準使用。
15.2.5.2測量元件的選擇
測量元件應為測量齒輪或測量蝸桿。
測量元件的法向模數mn和法向壓力角αn應與被測齒輪一致。
測量元件齒厚的實際值應標注在測量元件上或專用檢驗單上。
測量齒輪各齒厚的變動量不應大于被測齒輪齒厚公差的八分之一。
15.2.5.3測量基準的確定
見附錄B(補充件)。
15.2.5.4測量位置的確定
應在齒高和齒寬中部對所有齒進行測量。
15.2.5.5測量的不確定度
雙嚙中心距偏差測量的不確定度UEa″不應大于被測齒輪雙嚙中心距公差的三分之一。
當不能確定測量的不確定度是否滿足上述要求時,應進行測量不確定度的計算。
UEa″(μm)按下式計算:
UE
a″=

……………………(81)
式中:δ1、δ2、δ3、δ5、δ6見5.2.5.1;
δ4——測量齒輪齒厚變動量ΔSp(μm)引起的測量誤差,μm;
δ
4=

……………………(82)
δ7——公稱中心距調整誤差,μm。
15.3測量結果處理
15.3.1齒厚偏差測量結果處理
以在15.2.1.3所規定的各測量位置中測得的最大齒厚偏差和最小齒厚偏差作為測量結果。
ΔEss、ΔEsi以被測齒輪雙側齒面分度圓螺旋線的法線方向計值(μm),以其它方向測量時,應對測量結果進行換算,見附錄C(補充件)。
15.3.2公法線平均長度偏差測量結果處理
以在15.2.2.2所規定的各測量位置中測得的各個公法線各個公法線長度偏差的算術平均值作為測量結果。
ΔEwm以被測齒面法線方向計值(μm),以其他方向測量時,應對測量結果進行換算,見附錄C(補充件)。
對公法線平均長度偏差的測量結果ΔEwm,應用設計圖樣規定的公法線平均長度極限偏差ΔEwms、ΔEwmi對其進行評定。當設計圖樣未作規定時,應將圖樣規定的齒厚極限偏差Ess、Esi按公試(83)、(84)換算為Ewms、Ewmi;也可將測得的ΔEwm按分式(85)、(86)換算為ΔEss、ΔEsi,用設計圖樣規定的Ess、Esi對其進行評定。
將Ess、Esi換算成Ewms,Ewmi的換算式為:

……………………(83)

……………………(84)
在使用上述換算式時,應保證被測齒輪的ΔFr在允許公差Fr范圍內。
將ΔEwm換算成ΔEss、ΔEsi的換算式為:
ΔE
ss=

……………………(85)
ΔE
si=

……………………(86)
若被測齒輪的ΔFr在允許公差Fr范圍內,上兩式中的ΔFr可以用0.72Fr代替。
15.3.3基本齒廓位移測量結果處理
以在15.2.3.4所規定的各測量位置中測得的最大基本齒廓位移和最小基本齒廓位移作為測量結果。
ΔEHs,ΔEHi以被測齒輪的雙側齒面徑向計值(μm),以其它方向測量時,應對測量結果進行換算,見附錄C(補充件)。
對基本齒廓位移的測量結果ΔEHs,ΔEHi,應用設計圖樣規定的基本齒廓位移極限偏差EHs,EHi對其進行評定。當設計圖樣未作規定時,應將圖樣規定的齒厚極限偏差Ess、Esi按公試(87)、(88)換算成EHs、EHi;也可以將測得的ΔEHs,ΔEHi,按公試(89)(90)換算為ΔEss、ΔEsi,用設計圖樣規定的Ess、Esi對其進行評定。
將Ess、Esi換算為EHs、EHi換算式為:

……………………(87)

……………………(88)
將ΔEHs,ΔEHi換算為ΔEss、ΔEsi的換算式為:
ΔE
ss=

E
Hs 
……………………(89)
ΔE
si=

E
Hi 
……………………(90)
15.3.4量柱測量距(M值)偏差測量結果處理
以在15.2.4.3所規定的各測量位置中測得的各個M值的算術平均值作為測量結果。
ΔEM以被測齒輪的雙側齒面徑向計值(μm),以其它方向測量時,應對測量結果進行換算,見附錄C(補充件)。
對量柱測量齒距(M值)偏差的測量結果ΔEM應用設計圖樣規定的量柱測量距極限偏差EMs、EMi對其進行評定。當設計圖樣未作規定時,應將圖樣規定的齒厚極限偏差Ess、Esi按公試(91)、(92),(93),(94)換算為EMs、EMi;也可以將測得的ΔEM按公試(95),(96)(97),(98)換算為ΔEss、ΔEsi,用Ess、Esi對其進行評定。
將Ess、Esi換算成EMs、EMi的換算式為:
被子測齒輪炎偶數齒時

……………………(91)

……………………(92)
被測齒輪為奇數齒時

……………………(93)

……………………(94)
在使用上述換算式時,應保證被測齒輪的ΔFr在允許公差Fr范圍內。
將ΔEM換算成ΔEss、ΔEsi換算式為:
被測齒輪為偶數齒時

……………………(95)

……………………(96)
被測齒輪為奇數齒時

……………………(97)

……………………(98)
若被測齒輪的ΔFr在允許公差Fr范圍內,ΔFr可以用0.72Fr代替。
15.3.5雙嚙中心距偏差
以在15.2.5.4所規定的各測量位置中測得的雙嚙中心距最大時的中心距偏差作為上偏差ΔEas″,雙嚙中心距最小時的中心距偏差作為下偏差ΔEai″。
ΔEas″、ΔEai″應在被測齒輪雙側齒面的徑向計值(μm),以其它方向測量時,應對測量結果進行換算,見附錄C(補充件)。
對雙嚙中心距偏差測量結果ΔEas″,ΔEai″應用設計圖樣規定的雙嚙中心距極限偏差Eas″,Eai″對其進行評定。當設計圖樣未作規定時,應將圖樣規定的Ess、Esi按公式(99),(100)換算成Eas″,Eai″;也可以將測得的ΔEas″,ΔEai″按公式(101),(102)換算為ΔEss、ΔEsi,用Ess、Esi對其進行評定。
將Ess、Esi換算為Eas″,Eai″的換算式為:

………………(99)

………………(100)
將ΔEas″,ΔEai″換算為ΔEss、ΔEsi的換算式為:

……………………(101)

……………………(102)
以上各式中αt″為雙面嚙合時的端面嚙合角,(°)。
16整體誤差的檢驗
整體誤差有檢驗包括切向綜合誤差ΔFi′、一齒切向綜合誤差Δfi′、齒距累積誤差ΔFP、k個齒距累積誤差ΔFPk、齒圈徑向跳動ΔFr、齒向偏差Δfpt、基節偏差Δfpb、齒形誤差Δff、齒向誤差ΔFβ、接觸線誤差ΔFb和軸向齒距偏差ΔFpX等的檢驗。
ΔFP、ΔFPk、Δfpt、Δfpb、Δff、直齒輪的ΔFi′和Δfi′在截面整體誤差曲線上取值;ΔFβ、ΔFP、ΔFpX、斜齒輪的ΔFi′和Δfi′在全齒寬整體誤差曲線上取值;ΔFr在雙向截面整體誤差曲線上取值。
16.1測量方法和測量儀器
整體誤差的測量方法有嚙合法和坐標法。
嚙合法的測量儀器有齒輪單面嚙合整體誤差測量儀等。
坐標法的測量儀器有萬能齒輪測量機等。
16.1.1嚙合法測量原理
嚙合法測量原理參見圖34。以被測齒輪回轉軸線為基準,使被測齒輪1和間齒測量齒輪或間齒測量蝸桿2作單面嚙合傳動,將此傳動與標準傳動發生裝置3所發生的標準傳動相比較,通過誤差處理系統4測量出被測齒輪的實際回轉角與理論回轉角的差值,由同步記錄器5將其記錄成整體誤差曲線。對被測齒輪某一截面測得的上述曲線稱作截面整體誤差曲線,它是由各齒齒形誤差曲線按嚙合時的相對角坐標位置排列組成。左右齒面的截面整體誤差曲線按嚙合時的相對角坐標位置排列組成雙向截面整體誤差曲線。全齒寬不同截面的整體誤差曲線按嚙合時的相對角坐標位置排列組成全齒寬整體誤差曲線。在上述三種整體誤差曲線上按誤差定義取出各種誤差。
圖34嚙合法測量原理圖
1— 被測齒輪;2—測量蝸桿;3—標準誤差發生裝置;
4—誤差處理系統;5—同步記錄器
16.1.2坐標法測量原理
坐標法測量原理參見圖35。以被測齒輪回轉軸線為基準,測頭2與被測齒輪1的齒面接觸,被測齒輪回轉,接觸點沿被測齒輪的基圓切線移動,由測長傳感器3和測角傳感器6測量出測頭的直線位移量和被測齒輪的角位移量,經誤差處理系統與理論位移量進行比較,其差值即為單齒齒形誤差,再經測角傳感器6測出各齒齒距偏差,由同齒記錄器5將其記錄成整體誤差曲線(包括截面整體誤差曲線、雙向截面整體誤差曲線、全齒寬整體誤差曲線見(16.1.1)),在該曲線上按誤差定義取出各種誤差。

圖35坐標法測量原理圖
1— 被測齒輪;2—測頭;3—測長傳感器;4—誤差處理系統;
5—同步記錄器;6—測角傳感器
16.2測量
16.2.1測量溫度
見表15。
表15整體誤差的測量溫度
|
被測齒輪精度等級 |
測量室溫度 |
被測齒輪與測量儀器(或測量元件)的溫差 |
|
嚙合法 |
坐標法 |
嚙合法 |
坐標法 |
|
4~5 |
20±4 |
20±2 |
≤2 |
≤2 |
|
6~7 |
20±6 |
20±3 |
≤4 |
≤3 |
|
≥8 |
20±10 |
20±5 |
≤6 |
≤4 |
16.2.2測量儀器的檢定
儀器應按檢定規程或其它有關技術文件的規定時行檢定,經法定部門檢定合格后方準使用。
16.2.3測量元件的選擇
嚙合法測量元件可以是間齒測量蝸桿或間齒測量齒輪。測量元件的法向模數mn、法向壓力角αn應與被測齒輪一致;測量元件的工作齒高應大于或等于被測齒輪的工作高;測量齒輪的精度和參數應符合JB3887的規定;測量蝸桿的精度和參數應符合ZB J42006的規定。
坐標法的測頭可為球形、倒錐形、錐形或圓柱形。在保證不與另側齒面和齒底面發生干涉和碰撞的情況下,宜選擇直徑較大的測頭。測頭的工作點應位于被測齒輪的基圓切平面上,其偏離量不大于±0.02mm。
16.2.4測量儀器的校準
測量5級和高于5級精度的齒輪時,測量前必須用經法定部門檢定的標準元件(標準齒輪或樣板)對儀器(包括測量元件)進行校準(見表16)。標準元件的檢定誤差不應大于被測齒輪允許公差的六分之一。
表16儀器應校準的誤差項目
|
儀器用于檢測齒輪的誤差項目 |
應校準的誤差項目 |
|
Δff
ΔFβ
ΔFP
ΔFPK
ΔfPt
ΔFi′
Δfi′
ΔFPx
ΔfPb |
Δff
ΔFβ
ΔFP
ΔFP
ΔfPt
ΔFP、Δff、ΔfPt
Δff、ΔfPt
ΔFβ、ΔfPt
Δff、ΔfPt |
16.2.5測量基準的確定
見附錄B(補充件)
16.2.6測量位置的確定
對于Δff、Δfpb、Δfpt、ΔFP、ΔFPk和直齒輪的ΔFi′和Δfi′應測量截面整體誤差曲線,測量截面應大致位于齒寬中部,但當齒寬大于160mm時應至少測量上、中、下三個截面,上、下截面各距端約百分之十五齒寬。
對于斜齒輪的ΔFβ、ΔFb、ΔFi′和Δfi′;應測量至少由5條截面整體誤差曲線組成的全齒寬整體誤差曲線,對于直齒輪的ΔFβ和ΔFb允許少至三條。截面間距應沿全齒寬均布。測量ΔFPX時,截面間距應等于被測齒輪的公稱軸向齒距。
對于ΔFr應測雙向截面整體誤差曲線。測量截面應大致位于齒寬中部,但當齒寬大于160mm時,應至少測量上、中、下三個截面,上、下截面各距端面約百分之十五齒寬。
在測量Δff、Δfpb、ΔFb、ΔFi′和Δfi′時,被測截面應大于或等于圖紙規定的工作齒高,當圖紙未作規定時,按被測齒輪與基齒條嚙合計算工作齒高。
除ΔFr外,其它各項誤差均應分別對左、右側齒面進行測量。單側齒面工作的齒輪只測工作側齒面。
16.2.7測量不確定度
切向綜合誤差的測量不確定度U fi′、一齒切向綜合誤差的測量不確定度U fi′、齒距累積誤差的測量不確定度UFP、 k個齒距累積誤差的測量不確定度UFpk、齒圈徑向跳動的測量不確定度UFr、齒距偏差的測量不確定度Ufpt、基節偏差的測量不確定度Ufpt、齒形誤差的測量不確定度Uff、齒向誤差的測量不確定度UFβ、接觸線誤差的測量不確定度UFb和軸向齒距偏差的測量不確定度UFpx均不應大于被測齒輪對應誤差項目公差的三分之一。測量5級和高于5級精度的齒輪時,允許不大于二分之一,但此時應以五次以上重復測量結果的平均值作為測量結果。
當不能確定測量不確定度是否能滿足上述要求時,應按下述方法確定測量不確定度。
16.2.7.1齒形誤差的測量不確定度Uff的計算
Uff(μm)按下式計算:
Uf
f=

……………………(103)
式中:δ1——儀器測量齒形誤差時的示值誤差[見附錄A(補充件),也允許按儀器檢定規程確度],μm;
δ2——測量元件制造誤差引起的測量誤差,μm;
測量元件為測量蝸桿時,δ2=ΔTo;
測量元件為測量齒輪時,δ2=Δffo;
測量元件為測量頭時,δ2=0;
δ3——溫度誤差引起的測量誤差,μm;
δ3=Laf[α(t-20)-αo(to-20)]·1000………………(104)
δ4——被測齒輪測量時的安裝偏心引起的測量誤差,μm;

………………(105)
δ5——測量元件的定位誤差引起的測量誤差,μm;
測量元件為測量齒輪時,

………………(106)
測量元件為測量蝸桿時,
δ
5=

………………(107)
δ51——測量蝸桿安裝偏心引起的測量誤差,μm;
δ
51=

………………(108)
δ52——測量蝸桿軸向竄動引起的測量誤差,μm。
δ
52=ΔU
ocos

……………………(109)
若δ1是在測量前用標準齒輪校準測量蝸桿時測得的,即δ1中已包括δ2和δ5,則δ2=0、δ5=0。若δ2式中的ΔTo是在測量前用標準齒輪校準測量蝸桿時測得的,即δ2中已所括δ5,則δ5=0。
16.2.7.2齒距累積誤差測量不確定度UFP
UFP(μm)按下式計算:
UF
P=

………………(110)
式中:δ1——儀器測量齒距累積誤差時的示值誤差[見附錄A(補充件),也允許按儀器檢定規程確定],μm;
δ2——被測齒輪測量時的安裝偏心引起的測量誤差。μm;
δ
2=

………………(111)
16.2.7.3齒距偏差測量不確定度Ufpt
Ufpt(μm)按下式計算:
Uf
Pt=

………………(112)
式中:δ1——儀器測量齒距偏差時的示值誤差[見附錄A(補充件),也允許按儀器檢定規程確定],μm;
δ2——被測齒輪測量時安裝偏心引起的測量誤差,μm。
δ
2=

……………………(113)
16.2.7.4齒向誤差的測量不確定度UFβ
UFβ(μm)按下式計算:
UF
β=

………………(114)
式中:δ1——儀器測量齒向誤差時的示值誤差[見附錄A(補充件),也允許按儀器檢定規程確定],μm;
δ2——被測齒輪測量時的安裝偏心引起的測量誤差,μm;
δ
2=

……………………(115)
式中: ——齒線在分度圓柱面上所占的圓周角,(°)
δ3——溫度誤差引起的測量誤差,μm;
δ3=bud[α(t-20)-αo(to-20)]tgβ·1000………………(116)
δ4——被測齒輪子測量時的安裝傾斜面引起的測量誤差,μm。
δ4=ΔSt/cosαt……………………(117)
式中:ΔSt——是被測齒寬范圍內的傾斜量,μm。
16.2.7.5其它各項誤差的測量不確定度
其它各項誤差的測量不確定度均是由上述四項基本誤差中某幾項的測量不確定度組合成的,其組成關系見表17。表中左邊所列誤差項目的測量不確定度不需再作計算,而是要求列于表中右邊參與組合的誤差項目的測量不確定度應不大于該項誤差在與左邊的誤差項目的精度級相同時的公差的三分之一。測量5級和高于5級精度的齒輪時,允許不大于二分之一,但此時應以五次以上重復測量結果的平均值作為測量結果。
表17測量不確定度的組合關系
|
其它各項誤差(被組成的誤差項目) |
參與組合的誤差項目
的測量不確定度 |
|
名稱與代號 |
測量不確定度代號 |
|
切向綜合誤差ΔFi′
一齒切向綜合誤差Δfi′
接觸線誤差ΔFb
軸向齒距偏差ΔFPx
基節偏差ΔfPb |
UFi′
Ufi′
UFb
UFPx
UfPb |
UFP、Uff、UfPt
Uff、UfPt
U Fβ、Uff
UFβ、UfPt
Uff、UfPt |
16.3測量結果處理
整體誤差曲線的X坐標代表被測齒輪的回轉角,Y坐標代表被測齒輪的誤差。
以在16.2.6規定的各測量位置中測得的最大誤差(或偏差)作為測量結果。
16.3.1截面整體誤差曲線
16.3.1.1截面切向綜合誤差ΔFij′和截面一齒切向綜合誤差Δfij′的取值
ΔFij′和Δfij′應在截面切向綜合誤差曲線上取值。截面整體誤差曲線的外輪廓線就是截面切向綜合誤差曲線(圖36)。
截面切向綜合誤差曲線沿X坐標360°范圍內Y坐標的最大變化量為ΔFij′,沿X坐標 范圍內Y坐標的最大變化量為Δfij′。
ΔFij′和Δfij′應在被測齒輪分度圓的切線方向計值(μm),沿其它方向測量時應對測量值進行換算,見附錄C(補充件)。
圖36截面整體誤差曲線取值示意圖
16.3.1.2齒距偏差ΔfPt、齒距累積誤差ΔFb和K個齒距累積誤差ΔFPK的取值
各齒齒形誤差曲線上(圖36),大致位于誤差曲線中部,X坐標間隔360°/Z的誤差點為齒距誤差取值點。
所有齒距誤差取值點Y坐標的最大變化量為ΔFP。
相隔k個齒距(K=360°/Z)兩個誤差取值點Y坐標的最大變化量為ΔFPK。
相鄰兩個誤差取值點Y坐標的最大變化量為ΔFPt。
ΔfPt、ΔFP、ΔFPK應在被測齒輪分度圓的切線方向計值(μm),沿其它方向測量時應對測量值進行換算,見附錄C(補充件)。
ΔfPt的“+”“-”按下述方法確定,所測齒面上的誤差取值點較先測齒面上的誤差取值點正,則為+ΔfPt,反之則為-ΔfPt。以絕對值最大的齒距偏差作為齒距偏差的測量結果。
16.3.1.3齒形誤差Δff
X坐標在齒形工作范圍φaf(或Laf)內,Y坐標的最大變化量為Δff(圖36)。
Δff應在被測齒輪的基圓切線方向計值(μm),沿其它方向測量時應對測量值進行換算,見附錄C(補充件)。
16.3.1.4基節偏差ΔfPb的取值
在相鄰兩條齒形誤差曲線上(圖36),位于同一X坐標的二個齒形工作范圍內的誤差點的Y坐標的最大差值為ΔfPb(齒形修形部分不計值)。
在上述的二個誤差點中,Y坐標偏正的點位于齒形誤差曲線的頂部時為+ΔfPb,反之則為-ΔfPb。以絕對值最大的基節偏差作為基節偏差的測量結果。
ΔfPb應在被測齒輪的齒面法線方向計值(μm),沿其它方向測量時應對測量值進行換算,見附錄C(補充件)。
16.3.2雙向截面整體誤差曲線
16.3.2.1齒圈徑向跳動ΔFr的取值
在左右齒面的截面整體誤差曲線上(圖37),代表輪齒(或齒槽)固定弦位置的一對誤差取值點為CL、CR(或CL′、CR′),CL與CR或(CL′與CR′)應位于同一X坐標上,且到各自齒形誤差曲線的齒頂(或齒根)點的展開角相等。
CL′和CR′(或CL′與CR′)間的Y坐標距離為LC(或LC′),被測齒輪所有輪齒(或齒槽)的LC(或LC′)的最大變化量為ΔFr。
ΔFr應在被測齒輪雙側齒面的徑向計值(μm),沿其它方向測量時應對測量值進行換算,見附錄C(補充件)。
圖37ΔFr取值示意圖
16.3.3全齒寬整體誤差曲線
16.3.3.1切向綜合誤差ΔFi′和一切向綜合誤差Δfi′的取值
全齒寬整體誤差曲線的外廓線沿X坐標360°范圍內Y坐標的最大變化量為ΔFi′,沿X坐標 范圍內Y坐標的最大變化量為Δfi′。
Δfi′和ΔFi′應在被測齒輪分度圓切線方向計值(μm),沿其它方向測量時應對測量值進行換算見附錄C(補充件)。
16.3.3.2齒向誤差ΔFβ的取值
同一齒面的各截面齒形誤差曲線上(圖38),大約位于齒形誤差曲線的中部且距各自的齒頂點(或齒根點)的展開角相等的點為齒向誤差取值點。
同一齒面的各齒向誤差取值點的Y坐標最大差值為該齒面的齒同誤差。以所有齒面的最大齒向誤差作為ΔFβ的測量結果。
ΔFβ應在被測齒輪的分度圓切線方向計值(μm),沿其它方向測量時應對測量值時行換算,見附錄C(補充件)。
圖38ΔFβ取值示意圖
16.3.3.3接觸線誤差ΔFb的取值
同一齒面的各截面齒形誤差曲線上(圖39),X坐標相同的各誤差點為接觸線誤差的取值點。
各取值點的Y坐標最大差值為該接觸線的接觸線誤差。以各齒面及各X坐標上測得的最大接觸線誤差作為ΔFb的測量結果(齒形或齒向的修形部分不計值)。
ΔFb應在被測齒輪的齒面法線方向計值(μm)沿其它方向測量時應對測量值進行換算,見附錄C(補充件)。
圖39ΔFb取值示意圖
16.3.3.4軸向齒距偏差ΔFpx的取值
軸向齒距偏差ΔFpx應在截面間距等于軸向齒距的全齒寬整體誤差曲線上取值(圖40)。
在此誤差曲線圖上,當截面變化一個軸向齒距時,相鄰二齒的齒形誤差曲線的X坐標完全重合。X坐標完全重合的各齒面的齒形誤差曲線的中點為軸向齒距偏差取值點。
各取值點Y坐標的最大差值為ΔFpx。
ΔFpx應在被測齒輪的齒面法線方向計值(μm),沿其它方向測量時應對測量值進行換算,見附錄C(補充件)。
圖40ΔFpx取值示意圖
17齒輪副單嚙綜合誤差的檢驗
齒輪副單嚙綜合誤差的檢驗包括齒輪副的切向綜合誤差ΔFic′和齒輪副的一齒切向綜合誤差Δfic′的檢驗。
17.1測量方法和測量儀器
齒輪副單嚙綜合誤差的測量方法有傳動鏈法和成對法。
傳動鏈法的儀器有光柵式傳動鏈測量儀、地震式傳動鏈測量儀和磁分度式傳動鏈量儀等。
成對法的儀器有齒輪式單面嚙合檢查儀等。
17.1.1傳動鏈法測量原理
傳動鏈法測量原理參見圖41。在安裝好齒輪副的箱體上用傳動鏈測量儀測量。傳動鏈測量儀有兩個回轉測量頭2、3,分別同軸安裝在一對被測齒輪副1的兩個齒輪的軸端,并分別與兩個被測齒輪同步回轉,通過與標準傳動鏈4進行比較,連續測出被測齒輪實際回轉角與理論回轉角的差值,通過同步記錄系統5將其記錄成齒輪副單嚙綜合誤差曲線,在該曲線上按誤差定義取出ΔFic′和Δfic′。
圖41傳動鏈式法測量原理
1— 齒輪副;2、3—回轉測量頭;4—標準傳動鏈;
5—同步記錄系統;6—箱體
17.1.2成對法測量原理
將一對被測齒輪副安裝在齒傳輸線式單面嚙合檢查儀上進行單面嚙合成對測量(詳見4.1.1)。也允許分別測量兩個齒輪的ΔFi′和Δfi′,經計算合成ΔFic′和Δfic′。
17.2測量
17.2.1測量儀器的檢定
儀器應按檢定規程或其它有關技術文件的規定進行檢定,經法定部門檢定合格后方準使用。
17.2.2測量基準的確定
見附錄B(補充件)。
17.2.3測量位置的確定
應在中心距和使用時中心距相同的情況下,分別對左右側齒面進行測量。單側齒面工作的齒輪只測工作側齒面。
17.2.4嚙合圈數的確定
應在嚙合傳動足夠多的圈數內測量齒輪副的單嚙綜合誤差。若小齒輪(齒數Z1)為主動齒輪,大齒輪(齒數為Z2)為被動齒輪,則大齒輪的轉動圈數n2可按下式計算:
n
2=

………………(118)
式中:X——Z1和Z2的公因數。
當Z1和Z2互為質數時,可認為X=1,故n2= Z1(轉)。
17.2.5測量的不確定度
齒輪副的切向綜合誤差的測量不確定度U Fic′和齒輪副的一齒切向綜合誤差的測量不確定度U Fic′不應大于被測齒輪對應誤差項目公差的三分之一,測量五級和高于五級精度的齒輪時,允許不大于二分之一,但此時應以五次以上重復測量結果的平均值作為測量結果。
當不能確定測量不確定度是否能滿足上述要求時,應時行測量不確定度的計算。
17.2.5.1齒輪副的U Fic′的計算
U Fic′(μm)按下式計算:
U F
ic′=

………………(119)
式中:δ1——儀器測量齒輪副切向綜合誤差時的示值誤差[見附錄A(補充件),也允許按儀器檢定規程確定],μm;
δ2——主動齒輪測量時的安裝偏心e1(μm)引起的測量誤差,μm;
δ2=2 e1/cosαt1……………………(120)
傳動鏈測量時δ2=0。
δ3——被動齒輪測量時的安裝偏心e2(μm)引起的測量誤差,μm。
δ3=2 e3/cosαt3……………………(121)
傳動鏈測量時δ3=0。
17.2.5.2齒輪副U fic′的計算
U f
ic′=

………………(122)
式中:δ1——儀器測量一齒切向綜合誤差時的示值誤差[見附錄A(補充件),也允許按儀器檢定規程確定],μm;
δ2——主動齒輪測量時的安裝偏心e1(μm)引起的測量誤差,μm;
δ
2=

……………………(123)
傳動鏈測量時δ2=0。
δ3——被動齒輪測量時的安裝偏心e2(μm)引起的測量誤差,μm;
δ
3=

……………………(124)
傳動鏈測量時δ3=0。
17.3測量結果處理
ΔFic′和Δfic′應從齒輪副的的單嚙綜合誤差曲線上取值。也允許以單個齒輪的ΔFi′之和及Δfi′之和作為測量結果。
單嚙綜合誤差曲線的X坐標代表被測齒輪的回轉角,Y坐標代表被測齒輪轉角誤差(圖42)。
ΔFic′和Δfic′應在分度圓切線方向計值(μm),以其它方向測量時,應對測量結果進行換算,見附錄C(補充件)。
圖42齒輪副單嚙綜合誤差曲線
單嚙綜合誤差曲線在X坐標n2360°范圍內,Y坐標的最大變化量為ΔFic′;在X坐標360°/Z2 范圍內,Y坐標的最大變化量為Δfic′。
以左右側齒面測得值中的最大誤差作為測量結果,單側齒面工作的齒輪只計工作側齒面的誤差。
18齒輪副接觸斑點的檢驗
18.1測量方法和測量儀器
齒輪副接觸斑點的測量方法有光澤法和著色法。
齒輪副接觸斑點的檢驗應在箱體中進行,也可以在齒輪副滾動試驗機上或齒輪式單面嚙合檢查儀上進行。
18.1.1光澤法的測量原理
光澤法是在被測齒輪副齒面上不涂涂料進行測量,經足夠時間的嚙合運轉,使齒面能見到清晰的擦亮痕跡。
18.1.2著色法的測量原理
先在被測齒輪副中的小齒輪部分齒齒面上涂以適當的厚度的涂料,攀動小齒輪軸使齒輪副作工作齒面的嚙合,直至齒面上出現清晰的涂料被擦掉的痕跡。
18.2測量
18.2.1測量儀器的檢定
儀器應按檢定規程或其它有關技術文件的規定進行檢定,經法定部門檢定合格后方準使用。
18.2.2測量基準的確定
見附錄B(補充件)。
18.2.3測量位置的確定
應在中心距和使用時中心距相同的情況下對左右齒面時行測量。單側齒面工作的齒輪許只測工作側齒面。
18.2.4著色法的涂層
涂層應涂于小齒輪的不少于5個齒的工作齒面上。涂層應均勻,其厚度不應大于6μm。
18.2.5測量力和嚙合轉數
在輕微制動的條件下進行測量。
光澤法需進行連續回轉,直至齒面上的接觸擦亮痕跡充分呈現出來。
著色法測量時,小齒輪可正反反復轉動也可作連續回轉,直至齒面上接觸斑點充分呈現出來。
18.3測量結果處理
齒輪副的接觸斑點應以小齒輪齒面上的斑點為準,并以小齒輪齒面上接觸斑點面積最小的齒面所計算的接觸斑點的大小,作為測量結果。
18.3.1接觸斑點的大小
接觸斑點的大小是以在齒面上接觸痕跡沿齒長方向的長度(扣除超過模數值的斷開部分)和沿齒高方向的平均高度分別相對于工作長度和工作高度之比的百分比來確定(圖43)。
18.3.1.1沿齒長方向接觸痕跡的百分比計算
沿齒長方向接觸痕跡的百分比為:

………………(125)
式中:b″——接觸痕跡的總長度(包括斷開部分),mm;
c——超過模數值的斷開部分的長度,mm;
b′——工作長度,mm。
18.3.1.2沿齒高方向接觸痕跡的百分比計算
沿齒高方向接觸痕跡的百分比為:

………………(126)
式中:h″——接觸痕跡的平均高度,mm;
h′——工作高度,mm。
圖43接觸斑點圖
18.3.2接觸斑點的位置
對于齒面不修形的齒輪,接觸斑點的分面位置應趨近齒面中部,齒頂和兩端部棱邊不允許接觸。
對于修形齒輪,接觸斑點的位置按設計規定。
19齒輪副側隙的檢驗
齒輪副側隙的檢驗包括齒輪副圓周側隙jt和法向側隙jn的檢驗。
19.1測量方法和測量儀器
齒輪副側隙的測量方法有單點法、單嚙法和雙嚙法。
單點法在箱體上對安裝好的齒輪副進行測量,也可在滾動試驗機上進行測量。
單嚙法的儀器有齒輪式單面嚙合檢查儀和傳動鏈測量儀。
雙嚙法的儀器有雙面嚙合檢查儀。
19.1.1單點法測量原理
單點法測驗量圓周側隙時的原理參見圖44。單點測量圓周側隙時,在中心距和使用時中心距相同的情況下,將齒輪副的一個齒輪固定,在另一個齒輪的分度圓切線方向上置一百分表然后晃動此齒輪,其晃動量由百分表讀出,即為圓周側隙值。
圖44圓周側隙單點測量示意圖
單點法測量法向側隙的原理參見圖45。單點測量法向側隙時:在中心距和使用時中心距相同的情況下,可用測片或塞片進行測量。也可和測量圓周側隙相似使用百分表,但要將百分表測頭放置在與齒面垂直的方向上,此時從百分表上讀出的晃動量即為法向側隙值。
圖45法向側隙單點測量示意圖
19.1.2單嚙法測量原理
在中心距和使用時中心距相同的情況下,按17.1.1和17.1.2的測量原理,以同一零位測出左、右齒面的齒輪副切向綜合誤差曲線。左右齒面的齒輪副切向綜合誤差曲線之間的距離即為齒輪副側隙(圖46)。
圖46單嚙法側隙形成示意圖
19.1.3雙嚙法測量原理
雙嚙法測量原理參見圖3。它是在一般雙嚙測量的基礎上擴展的。雙嚙法測量側隙需先按齒輪副實際使用時的公稱中心距來校準雙嚙儀的測量中心距并使測微裝置4置零,并在記錄紙上畫出零線,然后再按5.1.1的測量方法測出帶零線的徑向綜合誤差曲線(參見圖47)。曲線和零線之間的距離即為側隙在雙嚙中心距方向的反映值。在該曲線上按誤差定義取出jn和jt。
圖47帶零線的徑向綜合誤差曲線
19.2測量
19.2.1測量儀器的檢定
儀器應按檢定規程或其它有關技術文件的規定進行檢定,經法定部門檢定合格后方準使用。
19.2.2測量基準的確定
見附錄B(補充件)。
19.2.3單點法測量位置的確定
應對大齒輪每轉過大約60°的位置進行齒輪副側隙的測量。
19.2.4單嚙法,雙嚙法嚙合圈數的確定
應在大齒輪一圈的范圍內進行齒輪副側隙的測量。
19.3測量結果的處理
單點法測量側隙時,可直接在指示表上讀出或根據測片或塞片的厚度定值。以在19.2.2所規定的各測量位置中,測得的最大側隙和最小側隙作為測量結果。
單嚙法測量側隙時,以同零位測出的左右齒面的單嚙綜合曲線之間的距離來定值(參見圖46)。
雙嚙法測量的側隙在帶零線的徑向綜合誤差曲線(圖47)上取值。X軸就是零線,X坐標代表大齒輪的回轉角,Y坐標代表側隙。曲線在X坐標360°范圍內,Y坐標的最小負值為jn min(或jt min),最大負值為jn min(或jt min)。
jn應在被測齒輪齒面法線方向計值(μm),jt應在被測齒輪分度圓切線方向計值(μm),以其它方向測量時應對測得值進行換算,見附錄C(補充件)。
附錄A
測量儀器示值誤差及示值變動性的確定
(補充件)
A1測量儀器示值誤差的確定
儀器的示值誤差用經法定部門檢定過的標準元件(標準塊或標準樣板或標準齒輪)來確定。確定方法如下:
儀器經校準后,應在儀器的測量范圍內用兩個和兩個以上不同規格的標準元件進行儀器示值誤差的確定。
對每個標準元件,在被檢定儀器上進行n次重復測量(n≥)將每次測得值(或曲線)與標準值(或曲線)進行比較,其差值為ΔX1,ΔX2,……ΔXn,儀器的示值誤差φ為:

………………(A1)
以對不同規格標準元件所測得的最大φmax作為儀器的示值誤差。
A2測量儀器示值變動性的確定
對被測齒輪進行n次重復測量(n=5~10),n次測得值的最大差值即為儀器的示值變動性。
附錄B
測量時被測齒輪定位精度的確定
(補充件)
B1 應選擇被測齒輪的設計基準作為測量基準。由測量時的定位誤差造成的被測齒輪的徑向跳動不大于齒圈徑向跳動公差的八分之一。當選用端面定位時,除上述定位精度的要求外,定位端面的端面跳動不得大于在齒寬等于跳動圓直徑時同精度齒向公差的五分之一。
附錄C
不同傳感方向測量時誤差值的換算
(補充件)
C1在測量齒輪誤差時測頭的傳感受方向有齒面法線方向、基圓切線方向、分度圓切線方向、軸線方向、雙側齒面分度圓螺旋線(在展開平面上)法線方向、回轉角方向和雙側齒面徑向。
C2齒輪各項誤差應按下述規定的方向計值:Δfpb、ΔFb、ΔFpX、Δffβ、ΔFw、ΔEwm、jn在齒面法線方向計值;ΔFi′、Δfi′、ΔFp、ΔFpk、Δfpt、ΔFβ、ΔFic′、Δfic′、jt在分度圓切線方向計值;Δff在基圓切線方向計值;ΔFr、ΔFi″、Δfi″、ΔEα″和ΔEH在雙側齒面徑向計值;ΔEs在雙側齒面分度圓螺旋線的法線方向計值。
C3對不在規定的計值方向測得的誤差值應按下列各式換算:
式中:

——齒輪回轉角誤差,(″);

——齒輪分度圓切線方向的誤差,μm;

——齒輪基圓切線方向的誤差,μm;

——齒面法線方向的誤差,μm;

——齒輪軸線方向的誤差,μm;

——齒輪分度圓螺旋線法線方向的誤差,μm;

——齒輪雙側面分度圓螺旋線法線方向的誤差,μm;

——齒輪雙側齒面的徑向誤差,μm。
附加說明:
本標準由中華人民共和國機械電子工業部提出。
本標準由機械電子工業部鄭州機械研究所歸口。
本標準由機械電子工業部成都工具研究所和中國計量科學研究院共同負責起草。
本標準主要起草人黃潼年、唐啟昌、張乃君、柏永新、蘇桂蘭、謝時驊、楊春發、于秋思、商向東、張偉、劉振福、蔡康洪。