1.適用范圍
該標準規定了齒輪加工應遵守的基本規則,適用于各企業的齒輪加工。
齒輪加工還應遵守JB/Z307.1(切削加工通用工藝守則總則)
2.一般要求
(1)齒坯裝夾前應檢查其編號和實際尺寸是否與工藝規程要求相符合。
(2)裝夾齒坯時應注意查看其基面標記,不得將定位基面裝錯。
(3)計算齒輪加工機床滾比掛輪時,一定要計算到小數點后有效數字第五位。
3.滾齒工藝守則
(1)本守則適用于用滾動切法加工GB10095-88中規定的7、8、9級精度漸開線圓柱齒輪。
(2)滾齒前的準備。
①加工斜齒或人字齒輪時,必須驗算差動掛輪的誤差,一般差動掛輪應計算到小數點后有效數字第五位。差動掛輪誤差應按下式計算。
式中:δ——差動掛輪誤差;
m——齒輪模數;
N——滾刀頭數;
B——齒輪齒寬;
K——齒輪精度系數;對7級齒輪,K為0.001;對8級齒輪,K為0.002;對9級齒輪,K為0.003;
C——滾齒機差動定數。
②加工有偏重的齒輪時,應在相應處安置適當的配重。
(3)齒坯的裝夾。
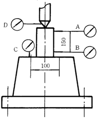
①在滾齒機上安裝滾齒夾具時,應按表Ⅱ-1的要求調整。
表Ⅱ-1滾齒機上安裝滾齒夾具 (mm)
|
齒輪精度等級 |
檢查部位 |
|
|
A |
B |
C |
D |
|
允許跳動公差 |
|
7 |
0.015 |
0.010 |
0.005 |
0.015 |
|
8 |
0.020 |
0.012 |
0.008 |
|
9 |
0.025 |
0.015 |
0.010 |
②在滾齒機上裝夾齒坯時,應將有標記的基面向下,使其與支承面貼合,不得墊紙或銅皮等物。壓緊前用千分表檢查齒坯外圓徑向跳動和基準端面跳動,其跳動公差不得大于表Ⅱ-2所規定數值。壓緊后需再次檢查,以防壓緊時產生變形。
表Ⅱ-2用千分表檢查齒坯外圓徑向和基準端面跳動公差1)(mm)
|
齒輪精度等級 |
齒輪分度圓直徑 |
|
≤125 |
>125~400 |
>400~800 |
>800~1600 |
>1600~2500 |
>2500~4000 |
|
齒坯外圓徑向跳動和基準端面跳動公差 |
|
7 |
0.018 |
0.022 |
0.032 |
0.045 |
0.063 |
0.100 |
|
8 |
|
9 |
0.028 |
0.036 |
0.050 |
0.071 |
0.100 |
0.160 |
1)當三個公差組的精度等級不同時,按最高的精度等級確定公差值;當以頂圓作基準時,表中的數值就指頂圓的徑向跳動。
(4)齒輪軸的裝夾
①在滾齒機上裝夾齒輪軸時,應用千分表檢查其兩基準軸頸(或一個基準軸頸及頂圓)的徑向跳動,基跳動公差應按下式計算:
式中:t——跳動公差,mm;
L——兩測量點間的距離,mm;
B——齒輪軸的齒寬,mm;
K——精度系數:對7級和8級精度齒輪軸,K值取0.008~0.01,對9級精度齒輪軸,K值取0.011~0.013。
②在滾齒機上裝夾齒輪軸時,應用千分表在90°方向內檢查齒頂圓母線與刀架垂直移動的平行度,在100mm長度內不得大于0.01mm。
③齒坯裝夾壓緊時,壓緊力應通過支承面,不得壓在懸空處,壓緊力應適當。
(5)刀桿與滾刀的裝夾
①粗、精加工刀桿、刀墊必須嚴格分開,精加工用刀墊兩端面平行度不得大于0.005mm
②刀桿及滾刀裝夾前,刀架主軸孔及所有墊圈、刀桿、支承軸套、滾刀內孔端面都必須擦凈。
③滾刀應輕輕扒入刀桿中,嚴禁敲打。
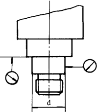
④刀桿裝夾后,懸臂檢查刀桿徑向和端面圓跳動,其跳動公差不得大于表Ⅱ-3規定。
表Ⅱ-3懸臂檢查刀桿徑向和端面跳動的公差1)
|
齒輪精度等級 |
圓跳動公差 |
|
|
A |
B |
C |
|
7 |
0.005 |
0.008 |
0.005 |
|
8 |
0.008 |
0.010 |
0.008 |
|
9 |
0.010 |
0.015 |
0.010 |
1)精度等級按第Ⅱ公差組要求;表中B點跳動是指L小于或等于100mm時的數值、L每增加100mm,B點跳動允許增加0.01mm。
⑤滾刀安裝后必須檢查滾刀軸臺徑向圓跳動,其跳動公差不得大于表Ⅱ-4規定,并且要求兩軸臺徑向圓跳動方向一致。
表Ⅱ-41)
|
齒輪模數 |
齒輪精度等級 |
|
7 |
8 |
9 |
|
跳動公差 |
|
≤10 |
0.015 |
0.02 |
0.04 |
|
>10 |
0.02 |
0.03 |
0.05 |
1)精度等級按第Ⅱ公差組要求。
(6)滾刀選擇及磨鈍標準
①滾刀選擇
要據被加工齒輪的精度要求,按表Ⅱ-5選擇滾刀。
表Ⅱ-5被加工齒輪的精度1)
|
齒輪精度等級 |
滾刀精度等級 |
|
粗滾齒 |
精滾齒 |
|
7 |
B或C |
AA |
|
8 |
A |
|
9 |
C |
B |
1)精度等級按第Ⅱ公差組要求。
②滾刀磨鈍標準
在滾齒時,如發現齒面有光斑、拉毛、粗糙度變壞等現象時,必須檢查滾刀磨損量,基磨損量不得大于表Ⅱ-6的規定。
表Ⅱ—6滾刀磨損量度 (mm)
|
滾刀模數 |
2-8 |
>8-14 |
>14-25 |
>25-30 |
|
磨損量 |
粗滾刀 |
0.4 |
0.3 |
0.8 |
1.0 |
|
精滾刀 |
0.2 |
0.3 |
0.4 |
0.5 |
③精滾刀每次刃磨后均需檢查容屑槽周節累積誤差,容屑槽相鄰周節誤差,刀齒前面的非徑向性,齒面粗糙度和刀齒前面與內孔軸線的主行度等,并要有檢查合格證方可使用。
(7)機床調正
①為了保證滾齒機在加工過程中的平穩性,分齒掛輪,差動掛輪嚙合間隙應為0.1~0.15mm。
②在大型滾齒機上加工大型齒輪時,必須根據齒坯的實際重量和夾具的重量,調整機床的卸載機構,并檢查其可靠性。
③根據被加工齒輪的技術參數、精度要求、材質和齒面硬度等情況決定切削用量。用單頭滾刀時推薦采用以下加工規范:
滾切次數:模數在20以下時,粗滾、精滾各一次。
模數在20~30時,粗滾、半精滾、精滾各一次。
切削濃度使用權用兩次滾切時,粗滾后齒厚須留有0.50~1.00mm的精滾余量。
采用三次滾切時,第一次粗滾深度為全齒深的70%~80%。第二次半精滾齒厚須留有1.00~1.50mm的精滾余量。
切削速度:切削速度在15~400m/min范圍內選取。
進給量:粗滾進給量在0.5~2.0mm/r范圍內選取。
精滾進給量在0.6~5mm/r范圍內選取。
(8)滾齒加工
①機床調整后用啃刀花進行試切檢查分齒、螺旋方向是否與設計要求相符。
②粗精滾齒應嚴格分開,有條件時,粗、精滾齒應分別在兩臺滾齒機上進行。
③在滾切人字齒輪時,左右方向實際齒厚之差不得大于0.10mm。
4.刨齒工藝守則
(1)本守則適用于用展成法加工7、8、9級精度直齒錐齒輪。
(2)刨齒前的準備
a.按加工方法和齒輪模數、材質、硬度進行速度掛輪,進給掛輪的選擇與調整。
b.調整分齒掛輪和滾比掛輪,其嚙合間隙應保證在0.1~0.15mm。
c.根據粗、精刨齒要求準確調整鼓輪的滾柱位置。
d.分齒掛齒調整后,開動機床,以主軸座分度盤刻線驗證分齒掛輪的正確性。
e.刀架角和滾比掛輪的滾比分別按公式(Ⅱ-3)和(Ⅱ-4)計算,即
式中:S——分度圓上弧齒厚;
hf——齒根高;
θf——齒根角;
δ′——節錐角;
R——外錐距;
α——齒輪壓力角;
Z——齒輪齒數;
Rg——機床系數。
當刨刀齒形角α0,不等于齒輪壓力角α時,
(3)夾具(或心思)裝入主軸錐孔后,應校正其徑向跳動和端面跳動,其徑向跳動應不大于齒坯基準面徑向跳動公差的三分之一,端面跳動應不小0.005mm。
(4)齒坯的裝夾應保證輪位、床位的正確性。
(5)刨齒刀的裝夾應使用權本機床的長度和高度對刀規對刀,以保證刨齒刀的正確位置。
(6)在精刨相嚙合的齒輪副時,應選用同一副刨齒刀,以保證工件齒形角一致。
(7)裝夾齒坯時,應保證錐頂和機床中心重合,并根據齒坯定位基面至其錐頂的距離調整刨齒刀行程長度,調整時應避免刀具與鞍架相碰。
(8)刨齒刀的使用和刃磨
①粗刨時,刨齒刀磨損量應不超過0.2mm。
②精刨時,刨齒刀磨損量應不超過0.1mm。刨齒刀刃磨后的前角與前面的傾角應符合刀具標準的有關規定。
③精刨齒刀刃磨后刀刃的直線度應不大于0.01mm,前面的粗糙度Ra值應不大于1.6μm,并不得有裂紋,燒傷和退火現象。
(9)刨錐齒輪副時,應先刨大齒輪,然后配對加工小齒輪,并做配對標記。
5.插齒工藝守則
(1)本守則適用于用齒輪型插齒刀加工GB10095-88規定的7、8、9級精度漸開線圓柱齒輪。
(2)插齒前的準備。
①調整分齒掛輪的嚙合間隙在0.1~0.15mm內。
②按加工方法和工件模數、材質、硬度進行切削速度掛輪、進給掛輪的選擇與調整。
(3)插齒心軸及齒坯的裝夾
①心軸裝夾后,其徑向跳動應不大于0.005mm。
②裝夾齒坯時應將有標記的基面向下,使之與支承面貼合,不得墊紙或銅皮等物。壓緊前要用千分表檢查外圓的徑向跳動和基準端面跳動。其跳動公差不得大于表Ⅱ-2的規定。
③在裝夾直徑較大,或剛性較差易受振動的齒坯時,應加輔助支承。
(4)插齒刀的適用與裝夾
①插齒刀的精度選擇按表Ⅱ-7
表Ⅱ-7插齒刀的精度選擇1)
|
齒輪精度等級 |
插齒刀精度等級 |
|
7 |
AA、A |
|
8 |
A |
|
9 |
B |
1)精度等級按Ⅱ公差組要求。
②刀墊的兩端面平行度公差應不大于0.005mm,刀桿和螺母的螺紋部分與其端面垂直度公差應不大于0.01mm。
③裝夾插齒刀前應用千分表檢查裝刀部位的徑向圓跳動、端面圓跳動及外徑d的磨損極限偏差,其值不得超過表Ⅱ-8的規定。
表Ⅱ-8裝刀部位徑向圓跳動1)
|
端輪精度等級 |
7 |
8 |
9 |
|
|
端面圓跳動 |
0.005 |
0.006 |
|
徑向圓跳動 |
0.008 |
0.009 |
|
磨損量 |
0.01 |
0.02 |
1)精度等級按第Ⅱ公差組要求。
(5)機床調整
①根據齒輪模數、齒數、材質、硬度選擇適當的切削速度。一般切削速度可在8~20m/min范圍內選取。
②調整插齒刀的沖程次數,按下式計算:

式中:n——插齒刀每分鐘沖程次數;
V——切削速度,m/min;
B——被加工齒輪的寬度,mm;
Δ——插齒刀切入、切出長度之和,mm。
(6)插齒過程中,應隨時注意刀具的磨損情況,當刀尖磨損達到0.15~0.30mm時,應及時換刀。
6.弧齒錐齒輪銑齒工藝守則
(1)銑齒前的準備
(2)齒坯的裝夾
①按零件圖樣和工藝規程上規定的安裝距,加上夾具上標明的(或實測的)尺寸,嚴格控制水平輪位尺寸。
②當需要更換工件主軸大錐套時,應將工件主軸內錐孔,端面和錐套外圓、端面擦干凈,涂一薄層機油,用手推入配合,錐套和主軸錐孔的端面間應有0.15~0.20mm的間隙,拉緊后,此間隙應消除。
(3)刀盤的裝夾
①檢查刀盤主軸:外圓徑向跳動和端面跳動均應不大于0.01mm。
②檢查心軸裝在機床上的跳動:
定位內孔或心思外圓的徑向圓跳動和定位端面圓跳動均應不大于0.01mm。
③刀盤內孔和后端面及機床刀具主軸必須擦干凈,精切刀裝上刀盤后,應用百分表校驗高速刀尖在同一水平面上,誤差應不大于0.02mm;調整同名刀頭的徑向跳圓動應不大于0.005mm。
④加工中需要更換刀頭時,必須檢查合格后才能使用。
(4)機床調整
①按照機床調整卡片上規定的加工方法和各項參數調整機床的刀位、輪位、床位、搖臺角、安裝角、刀傾角、刀轉角。
②當進給鼓輪指標在滾切中心刻線上時,按機床調整卡片上規定的參數調整分齒掛輪和滾比掛輪,并保證其嚙合間隙為0.1~0.15mm。
③根據齒輪模數、齒數、材質、硬度、刀盤直徑合理選取切削速度和進給掛輪。切削速度一般可在15~40m/min范圍內選取。
(5)銑齒加工
①加工相嚙合的齒輪副時,應先銑大齒輪,然后以大齒輪配銑小齒輪。銑后應做標記。
②首件銑齒后,在保證安裝距和齒側間隙的條件下,應將銑出的齒輪在滾動檢查機中跑合,調整齒面接觸區,合格后才能正式生產。
③銑齒時,刀盤的刀頭磨損量應不大于0.3mm。
7.弧齒錐齒輪磨齒工藝守則
(1)磨齒前的準備
①根據齒輪的模數、齒數、材質、硬度、磨削方式、齒面粗糙度等因素合理選用砂輪。
②砂輪要進行粗平衡→修整→精平衡→再修整。
(2)被磨削齒輪的裝夾
①按零件圖樣和工藝規程中規定的安裝距,加上夾具上標明的(或實測的)尺寸,嚴格控制水平輪位。
②磨齒心軸(夾具)裝入機床主軸孔后應檢查其定位外圓的徑向跳動和支承端面的跳動,其公差均應不大于0.01mm。
③當需要更換機床工件主軸大錐套時,應將機床工件主軸內錐孔及其端面和錐套的外圓及其端面擦干凈,涂一薄層機油,用手推入配合,錐套和主軸錐孔的端面間必須有0.15~0.20mm的間隙,拉緊后此間隙應消除。
(3)砂輪安裝
①砂輪安裝后,應用砂輪修正器修出正確的齒形角。
②必須保證砂輪的正確輪位。
(4)機床調整
①按照機床調整卡片上規定的各項參數,調整機床的刀位、輪位、床位。
②調整分齒掛輪和滾比掛輪,保證其嚙合間隙為0.1~0.15mm。
③鼓輪機構的調整:應注意調整滾柱的不同位置,安裝要準確。
④搖臺角的調整:調好搖臺作磨削擺動的起點,使搖臺擺動的角度足以磨好全齒面。
⑤選取合適的磨削速度和進給量,保證被磨削齒輪的齒面不得現燒傷、退火和裂紋。
(5)磨削加工
①磨削相嚙合的齒輪副時,必須選磨削大齒輪,然后以大齒輪配磨小齒輪。
②齒輪磨齒后,在保證安裝距和齒側間隙的條件下,應在滾動檢查機上跑合,調整齒面接觸區,合格后做標記。
8.剃齒工藝守則
(1)被剃齒輪的裝夾
①機床前后(或上下)頂尖的徑向圓跳動應不大于0.005mm。兩頂尖中心連結對工作臺移動方向的偏差移,在150nn內應不大于0.01mm。
剃齒心軸裝夾后,徑向圓跳動應不大于0.005mm。
②機床主軸的端面和徑向圈跳動都應小于0.005mm;墊圈兩端面的平行度應不大于0.005mm。
(2)剃齒刀的選擇與裝夾
①剃齒刀的精度按表Ⅱ-9選用
表Ⅱ-9剃齒刀的精度1)
|
齒輪精度等級 |
剃齒刀精度等級 |
|
6 |
A |
|
7 |
A、B |
|
8 |
B |
1)精度等級按第Ⅱ公差組的要求。
②剃齒刀裝夾后,其端面跳動和徑向跳動均應不大于0.01mm。
③跳齒刀的齒數應與被剃齒輪齒數無公約數。
(3)機床調整
①應根據機床剛性、齒輪模數、材質、硬度,剃齒方式、剃齒刀直徑等因素選取主軸速度掛輪。
②根據齒輪模數、齒數、材質、硬度選取進給量。對徑向進給量一般取0.005~0.01mm/r,軸向進給量一般取0.1~0.5mm/r。
③調整剃齒刀的超越行程:為保證齒向嚴謹,剃齒刀的超越行程一般應取剃齒刀厚度的1/3-2/5。
(4)剃齒加工
①剃齒時軸交角的選擇:
a.剃直齒輪時,軸交角應取5°或15°。
b.剃斜齒輪時,軸交角應取10°~25°。
c.剃雙聯或多聯齒輪時,軸交角應根據齒輪空刀槽寬度適當選取,保證臺肩無干涉。
②機床調整好后,應進行齒輪的試剃并檢查齒向精度,合格后才能進行剃齒。
③在剃齒過程中,發現齒面失去剃刀花紋,出現擠壓痕跡,齒面無光澤,齒形端面出現較大毛刺,有啃刀現象,齒形誤差增大,公法線長度變動超差或發出異常聲間時,應及時換刀。
④剃削鼓形齒時仿形板的調整:仿形板應按工件中心點放置,并與工作臺搖擺中心點重合,以保證工作來往行程的擺動量相等,使剃出的齒形鼓形量對稱。
9.珩齒工藝守則
(1)根據被珩齒輪的精度等級,熱處理變形情誤解選取珩齒方式。
(2)珩磨輪的精度一般應為9~10級,其齒圈徑向跳動應不大于0.10mm。
(3)珩齒時,被珩齒輪一般應處于升速狀態,珩磨輪轉速不應太高,一般可在200~300r/min范圍內選取。
(4)珩齒循環次數,一般取2~4次,循環次數多了會破壞齒輪的齒形精度。
(5)珩磨輪的超越行程,一般應按珩磨輪厚度的1/3選取。其余可參照剃齒工藝守則。
10.漸開線圓柱齒輪磨齒工藝守則
(1)磨齒前的準備
①根據齒輪的模數、齒數、材質、硬度、磨削方式、齒面粗糙度等因素合理選用砂輪。
②砂輪要進行粗平衡→修整→精平衡→再修整。
(2)被磨削齒輪的裝夾
①磨齒機上下(左右)頂尖的徑向跳動應不大于0.003mm。
②盤狀齒輪應盡可能與其相配軸壓裝后磨齒。
③使用磨齒心軸定位磨齒時:
a.磨齒心軸的選用按表Ⅱ-10。
表Ⅱ-10磨齒心軸的選用1)
|
齒輪精度等級 |
選用心軸種類 |
|
3~4 |
按每隔2μm公差分組的圓柱心軸,使工作與心軸配合間隙為2μm,或采用密球心軸 |
|
5~6 |
錐度心軸1:5000~1:15000,或按4μm公差分組的圓柱心軸 |
|
6~7 |
圓柱心思,或脹套心軸 |
1)齒輪精度等級按第Ⅱ公差組的要求。
b.磨齒心軸各部分精度和粗糙度要求推薦按表Ⅱ-11。
表Ⅱ-11磨齒心軸各部分精度和粗糙度要求1)
|
齒輪精度
等級 |
磨齒心軸徑向跳動
(mm) |
端面外對圓垂直度
(mm) |
端面、外圓粗糙度
(μm) |
中心距 |
|
接觸面(%) |
粗糙度(μm) |
|
3~5 |
0.001 |
0.001~0.002 |
Ra0.1 |
85 |
Ra0.1 |
|
5 |
0.002~0.003 |
0.002~0.004 |
|
6~7 |
0.003~0.005 |
0.005~0.006 |
Ra0.2 |
80 |
1)齒輪精度等級按表Ⅱ公差組的要求。
c.要保證被磨削齒輪孔與磨齒心軸的配合精度。
d.墊圈兩端面的平行度應不大于0.005mm。
e.磨齒心軸的傳動夾頭裝夾螺釘擰緊應適量。
④使用夾具定位磨齒時:
a.夾個定位面在φ400mm范圍內,端面跳動應不大于0.005mm;
b.被磨削齒輪內孔的徑向跳動和基準端面跳動均應不大于表Ⅱ-11中規定數值的85%。
(3)砂輪的安裝與修正
①砂輪安裝后,應用砂輪修整器修出所需的砂輪齒形角:
a.對錐面砂輪磨齒機,砂輪齒形角一般應與被磨削齒輪的壓力角相等。
b.對馬路磨齒機,可根據被磨削齒輪的精度和生產批量,優先采用0°磨削法或K型磨削法。
②修正砂輪時,應使金剛石尖的移動軌跡通過砂輪軸線,且移動速度應均勻。
(4)機床調整
①使用掛輪展成磨齒機時,其滾比掛輪應計算到小數后有效數字第五位;使用基圓盤展成磨齒機時,基圓盤直徑應計算到小數點后有效數字第二位。基圓盤的徑向跳動應不大于0.015mm。
②分齒掛輪和滾比掛輪的嚙合間隙應保證在0.08~0.12mm內。
(5)磨齒加工
①根據被磨削齒輪的模數、齒數、材質、硬度、精度等級、齒面粗度、砂輪的材料、粒度、硬度合理選取磨削速度,進給量和行程次數。
②首件齒輪不得一次磨到成品尺寸,在磨削過程中應檢查其齒形、齒向、周節等項目,合格后再繼續磨至成品尺寸。
③被磨削齒輪齒面不允許有燒傷、裂紋等缺陷。
④調整工作臺的行程長度時,應保證齒輪漸開線齒形能完全展開,并要有適當的空行程,以消除工作臺的返行程傳動間隙或液壓波動。